Operation CHARM: Car repair manuals for everyone.
Manuals through 2025 now available!

Our trusted friends have launched a new website named LEMON, which has newer manuals. It also contains all the CHARM manuals.

LEMON is the spiritual successor to CHARM, I recommend you try it!

Link: lemon-manuals.la or lemon-manuals.org.ua

(Some people have issue connecting. LEMON is investigating. For now, use Firefox or change your DNS server)

Or, hide this message: temporarily or permanently

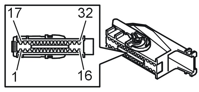
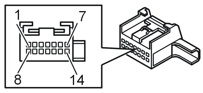
Signal Specification, Rear Electronic Module (REM)






Signal specification

General
All the values given below are between the terminals stated in column 1 and terminal #D12 in column 2 (power ground). This applies unless otherwise indicated in the last column.

Note! It is important to connect the breakout box and to check the ground connections before starting to measure.