Operation CHARM: Car repair manuals for everyone.
Manuals through 2025 now available!

Our trusted friends have launched a new website named LEMON, which has newer manuals. It also contains all the CHARM manuals.

LEMON is the spiritual successor to CHARM, I recommend you try it!

Link: lemon-manuals.la or lemon-manuals.org.ua

(Some people have issue connecting. LEMON is investigating. For now, use Firefox or change your DNS server)

Or, hide this message: temporarily or permanently

Function






Function

Controlling the climate in the passenger compartment




The way in which the climate in the passenger compartment is regulated depends on the type of climate control module (CCM) in the car.
Electronic climate control (ECC)
Electronic climate control means that either manual settings or the AUTO function can be used. In the latter case the control module automatically regulates heat, air conditioning, recirculation and air distribution until the selected temperature is achieved.
Manual climate control (MCC)
Manual climate control means that heat, air conditioning, recirculation and air distribution must be selected manually.
Climate control module (CCM) (3/112) regulates the following:
- Activation of the air conditioning (A/C) compressor (8/3) using a request via the controller area network (CAN) to the engine control module (ECM) (4/46)
- Controlling the damper motors. For ECC (6/48), (6/95), (6/96), (6/102) and (6/103). For MCC (6/48), (6/69), (6/95) and (6/96)
- Blower fan speed (6/28).
The climate control module (CCM) regulates the climate in the passenger compartment based on the following input signals:
- The passenger compartment temperature, signal from the internal passenger compartment temperature sensor
- Outside temperature, signal from the outside temperature sensor (7/11) via the passenger door module (PDM) (3/127) on the controller area network (CAN)
- The evaporator temperature, signal from the evaporator temperature sensor (7/41)
- Sun roof status. Signal from the sun roof control module (4/33) via the upper electronic module (UEM) (4/70) over the controller area network (CAN)
- Status of the side window, signals from the driver door module (DDM) (3/126) and passenger door module (PDM) (3/127) via the controller area network (CAN)
- Status of the doors, signal from the central electronic module (CEM) via the controller area network (CAN)
- Sun intensity, signal from the sun sensor (7/12) via the central electronic module (CEM)
- Speed, signal from the brake control module (BCM) (4/16) via the controller area network (CAN)
- Status of the windshield wipers, signal from the steering wheel module (SWM) (3/254) via the controller area network (CAN).
The climate control module (CCM) (for ECC) uses information about the status of the sun roof, side windows and doors to determine how it should compensate for changes in the passenger compartment temperature. If any side windows, doors or the sun roof are opened, the climate control module (CCM) will not compensate for a change in the passenger compartment temperature. Instead it maintains the same level of climate control for the compressor and blower fan as before.
The climate control module (CCM) (for ECC) uses the signal from the steering wheel module (SWM) indicating that the windshield wipers are on. This is to regulate the blower fan and the damper motor to remove any mist from the inside of the windshield when it rains.
The climate control module (CCM) (for ECC) uses the signal from the sun sensor to compensate for high sun intensity. This is done by lowering the temperature of the ventilation air, altering air distribution and increasing the speed of the blower fan.
The climate control module (CCM) uses the signal from the evaporator temperature sensor to control a request for:
- activation of the A/C compressor (not B8444S)
- control of the A/C compressor (B8444S only)
If the signal from the evaporator temperature sensor displays an evaporator temperature of below 4.5 °C, the compressor is not permitted to run due to the risk of ice formation.
To maintain a constant flow of air in the passenger compartment, the climate control module (CCM) (for ECC) uses the speed signal from the brake control module (BCM) to regulate the speed of the blower fan. Generally, as the speed of the car increases the speed of the blower fan decreases.
At higher speeds the flow of air into the fresh air damper is adjusted.

Regulating seat heat




The seat heaters are activated using the switches on the climate control module (CCM) (3/112). The function is normally switched off. When activating the seat heaters, the first position is high temperature. If the button is pressed again, the temperature will be low. The status of the indication is displayed via LEDs. The climate control module (CCM) transmits information about the selected temperature to the relevant seat heating module (SHM) on the relevant LIN bus. The seat heating module (SHM) then controls the current to the heater pads.
Each seat heating module (SHM) then transmits its present status to the climate control module (CCM).
Communication between the climate control module (CCM) and each seat heating module (SHM) takes place in the following way:
- seat heating module (SHM), driver's side (9/12) on LIN bus 1
- seat heating module (SHM), passenger side (9/13) on LIN bus 2.
The climate control module (CCM) receives information from the central electronic module (CEM) (4/56) about the type of seat and upholstery via the controller area network (CAN). The levels for high and low temperature are adapted for the relevant seat and upholstery by the climate control module (CCM). To a certain extent, the levels for high and low temperature can be adapted to the wishes of the customer using VIDA.

Recirculation control (electronic climate control only)




For ECC, the climate control module (CCM) (3/112) controls the recirculation during the following conditions:
- the recirculation switch is on (the LED lights orange)
- the system is in AUTO mode and there is a large difference between the desired and current temperature
- the car is equipped with an air quality sensor (AQS), and the recirculation switch is on (the LED lights green).
The air quality sensor (AQS) (7/159) transmits a signal to the climate control module (CCM) if it detects raised concentrations of pollutants in the outside air. When this occurs, the climate control module (CCM) transmits a signal to the damper motor for recirculation (6/48) to close the fresh air damper and to use recirculated air.
The degree of recirculation is controlled by the signal from the air quality sensor (AQS):
- signal 1 provides partial recirculation for speeds below 85 km/h, no recirculation for speeds exceeding 85 km/h
- signals 2 and 3 provide 100% recirculation.
If the high level of pollutants remains, the system stays in recirculation for a certain time, maximum of 10 minutes. The time that the system is recirculating is determined by the outside temperature, whether the air conditioning (A/C) is on or if the windshield wipers are activated. The system returns to fresh air for a short time before recirculation is resumed. The particle filter absorbs most of the pollutants entering the passenger compartment during this time. The maximum time prevents misting and musty air.
The air quality sensor (AQS) transmits information about the content of pollutants to the climate control module (CCM). This information is graded into four levels, and the information used for diagnosis.
Recirculation is never permitted if the defroster is selected. The climate control module (CCM) also requests compressor activation when the evaporator temperature exceeds 3 °C.

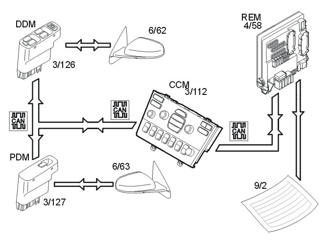
Heated rear windshield and door mirrors




The heated rear windshield and door mirrors are activated by pressing the switch on the climate control module (CCM) (3/112). The climate control module (CCM) transmits information via the controller area network (CAN) indicating the status of the electrical heating to the following:
- rear electronic module (REM) (4/58)
- driver door module (DDM) (3/126)
- passenger door module (PDM) (3/127).
For further information, see Design and Function, driver door module (DDM)/passenger door module (PDM) and Design and Function, rear electronic module (REM).

Switch functions, dashboard environment panel, (lower section)
The following functions can be activated using the switches on the dashboard environment panel:
- Folding head restraint, rear seat (S60/S80)
- Folding door mirrors (market dependent)
- Bi-fuel, on / off (market dependent)
- Valet lock, on/off
- Child-proof lock, on/off (market dependent)
- Rear air conditioning (A/C) (XC90, option)
- STC, off / on (option)
- DSTC, off / on (option)
- BLIS, off / on (option)
- Auxiliary lamps, off / on (option)
- Parking assistance (option)
- Reduced alarm, on / off (option)
- Four-C (Continuously Controlled Chassis Concept), (option).
In order for certain functions to be activated the engine must be switched on and/or the master key must be in position II.
Folding head restraints, rear seat
When the switch for the folding head restraints is activated, information is transmitted by the climate control module (CCM) (3/112) to the rear electrical module (4/58) via the control area network (CAN). For further information, see Design and Function, rear electronic module (REM).
Folding door mirrors
When the switch for the folding door mirrors is activated, information is transmitted by the climate control module (CCM) to the driver door module (3/126) and the passenger door module (PDM) (3/127) via the control area network (CAN). For further information, see Design and Function, driver door module (DDM) and passenger door module (PDM).
Bi-fuel
When the bi-fuel switch is activated, a signal is transmitted from the climate control module (CCM) to the engine control module (ECM) (4/46) on the control area network (CAN) via the central electronic module (CEM) (4/56). The engine control module (ECM) transmits a signal to the climate control module (CCM) about the type of fuel being used. The climate control module (CCM) uses this information to light and turn off the LED in the switch. For further information, see Design and Function, engine control module (ECM).
Valet lock / child-proof lock
When activating the valet lock switch or the child lock switch information is transmitted to the rear electronic module (REM) via the control area network (CAN). For further information, see Design and Function, Central locking.
Rear A/C
When activating the switch for rear A/C information is transmitted via the Controller area network (CAN) to the rear electronic module (REM). From this signal and the signal from the engine control module (ECM) indicating whether the engine is running or not, the rear electronic module (REM) will activate/deactivate the relay supply to the rear A/C system. The rear electronic module (REM) transmits a signal indicating whether the rear A/C is on or not to the climate control module (CCM) via the control area network (CAN). The climate control module (CCM) uses this information to light and turn off the LED in the switch.
STC or DSTC (applies to model year -2006)
When the STC or DSTC switch is activated, a signal is transmitted from the climate control module (CCM) to the brake control module (BCM) (4/16) via the controller area network (CAN). The brake control module (BCM) then transmits a signal to the climate control module (CCM) indicating that the STC or DSTC function is on or off. The climate control module (CCM) uses this information to light and turn off the LED in the switch. For further information, see Design and Function, Brake control system.
BLIS (applies to model year 2007-)
When activating the switch for Blind Spot Information System, the information is transmitted via the CAN network to the Driver door module (DDM) / Passenger door module (PDM). The Driver door module (DDM) / Passenger door module (PDM) transmit the signal to the Climate control module (CCM) about whether the BLIS function is on or off.
The Climate control module (CCM) uses the signal to switch the LED on or off the switch
For further information, see Design and Function, Driver door module (DDM)/passenger door module (PDM).
Auxiliary lamps
When the auxiliary lamps switch is activated, information is transmitted from the climate control module (CCM) to the central electronic module (CEM). The central electronic module (CEM) transmits a signal to the climate control module (CCM) about whether the auxiliary lamps are on or not. The climate control module (CCM) uses this information to light and turn off the LED in the switch. For further information, see Design and Function, central electronic module (CEM).
Back-up warning
When activating the switch for parking assistance, information is transmitted via the Controller area network (CAN) to the rear electronic module (REM). For further information, see Design and Function, rear electronic module (REM).
Reduced alarm
When activating the switch for reduced alarm, information is transmitted via the Controller area network (CAN) to the rear electronic module (REM). For further information, see Design and Function, Alarm.
Four-C (Continuously Controlled Chassis Concept)
When activating the switch for Four-C, information is transmitted via the Controller area network (CAN) to the suspension module (SUM). For further information, see Design and Function, suspension module (SUM).