Operation CHARM: Car repair manuals for everyone.
Manuals through 2025 now available!

Our trusted friends have launched a new website named LEMON, which has newer manuals. It also contains all the CHARM manuals.

LEMON is the spiritual successor to CHARM, I recommend you try it!

Link: lemon-manuals.la or lemon-manuals.org.ua

(Some people have issue connecting. LEMON is investigating. For now, use Firefox or change your DNS server)

Or, hide this message: temporarily or permanently

Function






Function

Engaging the pinion




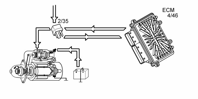
If the electronic immobilizer check is ok, the engine control module (ECM) (4/46) grounds and powers the starter motor relay (2/35). The relay is then activated and the control solenoid powered.
The control solenoid's position #2 (50) supplied with power from the relay. This creates a magnetic field in both pull-in and hold-in windings. This causes the moving steel core to shift. When the core shifts a lever, fixed in the end of the core, presses the starter motor pinion to engage in the ring gear on the flywheel/flange.
The pull-in winding is grounded through the rotor and carbon brushes. This ground connection is lost when the moving switches close the circuit and the current passes from the solenoid to the starter motor.

Planetary train




When the starter motor rotates, the sun wheel rotates clockwise. The planetary gears, which are constantly engaged with the sun wheel and ring wheel, rotate counter-clockwise. As the ring wheel is secured, the planetary gears are forced to circle around the sun wheel clockwise. The planetary gears rotate more slowly than the sun wheel. It is the clockwise rotation of the planetary gears which drives the pinion. The speed reduction that occurs between the sun gear and the planetary gear, results in greater torque. This means that a smaller and lighter starter motor can be used.

Starting the engine




When the moving steel cores for the solenoids reach their limit position the moving switches break the circuit with the fixes switches and the pull-in winding is disconnected. The hold-in winding keeps the switches closed. The current now passes through the positive carbon brushes and the armature winding. Grounding is carried out through the negative carbon brushes. This current creates a magnetic field in the rotor, which starts the rotor rotating.

Note! Starter motor for V8 engine is equipped with field winding instead of permanent magnets. The field windings are electrically connected in series by carbon brushes.

When the rotor rotates, the magnetic field is generated continuously depending on how the commutator and the windings are organized on the rotor. This allows the rotor to continue rotating.
When the starter motor relay is deactivated, the pull-in winding circuit is interrupted. Then the return spring for the solenoid pulls the pinion back, at the same time as the fixed and moving switches separate and the current to the starter motor is broken.

Clutch lock function
See Design and Function, Central electronic module (CEM).

Park / neutral position (PNP) function
See Design and Function, Immobilizer/start inhibition.

Start
See Design and Function, Engine control module (ECM).