Operation CHARM: Car repair manuals for everyone.
Manuals through 2025 now available!

Our trusted friends have launched a new website named LEMON, which has newer manuals. It also contains all the CHARM manuals.

LEMON is the spiritual successor to CHARM, I recommend you try it!

Link: lemon-manuals.la or lemon-manuals.org.ua

(Some people have issue connecting. LEMON is investigating. For now, use Firefox or change your DNS server)

Or, hide this message: temporarily or permanently

Procedures












Trailer Module (TRM)



























INTRODUCTION
- Read through all of the instructions before starting installation.
- Notifications and warning texts are for your safety and to minimize the risk of something breaking during installation.
- Ensure that all tools stated in the instructions are available before starting installation.
- Certain steps in the instructions are only presented in the form of images. Explanatory text is also given for more complicated steps.
- In the event of any problems with the instructions or the accessory, contact your local Volvo dealer.






Trailer Module (TRM)

Note! This accessory requires software unique to the car.

Note! During installation the underlying surface must be kept at a temperature of at least +15°C (60°F).





- Turn the ignition key to position 0.





- Lift out the cargo compartment carpet.





- Detach the rubber strip in the boot lid opening.





- Remove the sill trim panel by first pulling it forward until the two clips in the front edge release. Then pull it upward until the two clips in the top edge release.





- Fold the left-hand rear seat backrest forward.






Remove:
- the three clips in the top edge of the side panel
- the four plastic nuts in the lower edge of the side panel
- the connector to the cargo compartment lighting
- Lift out the side panel.





- Clean the marked area under the left-hand rear lamp using isopropanol part no. 1161721. Wipe dry.





- Clean the marked flat surfaces on the trailer module (TRM) using isopropanol part no. 1161721. Wipe dry.





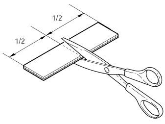
- Take the two Velcro straps from the kit and press them together edge to edge.





- Cut off the Velcro straps in the center.





- Remove the protective backing tape from one side of the Velcro straps.





- Press both Velcro straps on the control module as illustrated.





- Remove the remaining pieces of protective backing tape from the Velcro straps.





- Plug the pre-routed cables with the 2-pin grey connector (1) and 5-pin green connector (2) into the trailer module (TRM).
- Firmly press the control module in under the rear lamp in the position illustrated.

Applies to cars with parking camera
- Clean the surface of the parking camera module (PAC) and press the trailer module (TRM) into this.
- Plug the green connector into the green connector on the adapter cable to the camera.





- Press in the catches on the black cover on module 1 in fuse holder and remove it.





- Fit a 40A fuse in position FA11.





- Reinstall the connector and side panel in the cargo compartment.





- Reinstall the sill trim panel.





- Reinstall the rubber strip.





- Reinstall the cargo compartment carpet.





- Fold back the left-hand rear seat backrest.





- Programme the software.