Operation CHARM: Car repair manuals for everyone.
Manuals through 2025 now available!

Our trusted friends have launched a new website named LEMON, which has newer manuals. It also contains all the CHARM manuals.

LEMON is the spiritual successor to CHARM, I recommend you try it!

Link: lemon-manuals.la or lemon-manuals.org.ua

(Some people have issue connecting. LEMON is investigating. For now, use Firefox or change your DNS server)

Or, hide this message: temporarily or permanently

Windshield






Operation number: 84302-284308-2

Windshield















Removal

Note! Make sure that the vehicle is standing on a level surface.

See information about bonded windows, general information Refer to: Bonded window general, information Service and Repair

Remove the following items:
- A-Pillar Moulding Refer to: A-Pillar Moulding Service and Repair
- Plenum chamber Refer to: Plenum chamber Service and Repair
- A-pillar trim panel Refer to: A-pillar trim panel A-Pillar Trim Panel
- Rain sensor Refer to: Rain sensor Service and Repair
- inner rear view mirror Refer to: Inner rear view mirror Inner Rear View Mirror
- Camera collision warning Refer to: Camera collision warning Removal and Replacement




951 2925 Rollout 2000 951 2925 Rollout 2000





















Caution! Make sure that the components are protected.





Warning! Wear safety goggles.





Caution! Make sure that the components are protected.
















951 2335 Window lifter 2 pieces 951 2335 Window Lifter 2 Pieces

Installation

See information about bonded windows, general safety information Refer to: Bonded window, general safety information Service Precautions

See information about bonded windows, general information Refer to: Bonded window general, information Service and Repair





Use: H Cleaner, 1161436-9





Use: H Cleaner, 1161436-9
















981 4022 Oven 220V SHUKO 981 4022 Oven 220V Shuko 981 4023 OFFSET SCREWDRIVER TORX T30 981 4023 Offset Screwdriver Torx T30 981 4024 OFFSET SCREWDRIVER TORX T40 981 4024 Offset Screwdriver Torx T40 981 4019 Glue gun 220V SHUKO 981 4019 Glue Gun 220V Shuko 981 4020 Glue gun 220V UK 981 4020 Glue Gun 220V UK 981 4021 Glue gun 110V US 981 4021 Glue Gun 110V US

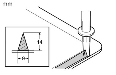
Use: Adhesive kit, 31299177













Warning! Wait for the specified time at the specified temperature before moving the car.

Install the following items:
- A-Pillar Moulding Refer to: A-Pillar Moulding Service and Repair
- Plenum chamber Refer to: Plenum chamber Service and Repair
- Rain sensor Refer to: Rain sensor Service and Repair
- inner rear view mirror Refer to: Inner rear view mirror Inner Rear View Mirror
- A-pillar trim panel Refer to: A-pillar trim panel A-Pillar Trim Panel
- Camera collision warning Refer to: Camera collision warning Removal and Replacement