Operation CHARM: Car repair manuals for everyone.
Manuals through 2025 now available!

Our trusted friends have launched a new website named LEMON, which has newer manuals. It also contains all the CHARM manuals.

LEMON is the spiritual successor to CHARM, I recommend you try it!

Link: lemon-manuals.la or lemon-manuals.org.ua

(Some people have issue connecting. LEMON is investigating. For now, use Firefox or change your DNS server)

Or, hide this message: temporarily or permanently

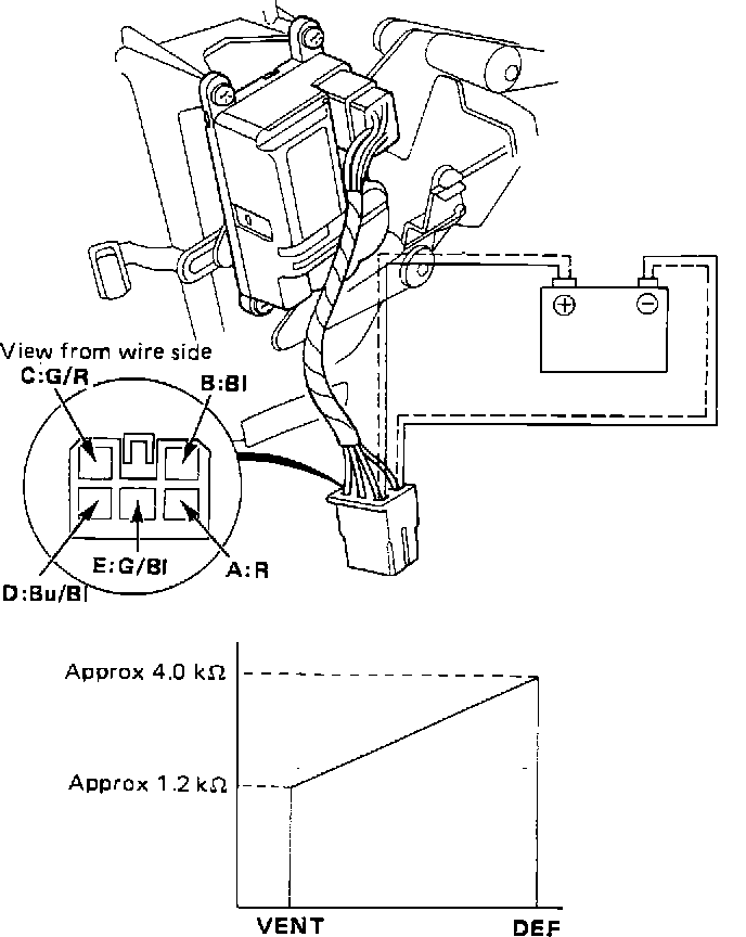
Function Control Motor

Function Control Motor Testing:






1. Measure resistance between terminals G/R and G/BI. It should read approximately 4K ohms.
2. Check motor operation by connecting battery positive to terminal R and negative to terminal BI.
3. Reverse connections to make sure motor will run in both directions.

CAUTION: To prevent motor damage, disconnect battery as soon as motor starts.

4. Connect battery positive to terminal R and negative to terminal BI. Measure resistance between terminals G/R and Bu/BI. Motor is okay if readings agree with those shown on image table.
5. Check resistances again with battery polarity reversed.