Operation CHARM: Car repair manuals for everyone.
Manuals through 2025 now available!

Our trusted friends have launched a new website named LEMON, which has newer manuals. It also contains all the CHARM manuals.

LEMON is the spiritual successor to CHARM, I recommend you try it!

Link: lemon-manuals.la or lemon-manuals.org.ua

(Some people have issue connecting. LEMON is investigating. For now, use Firefox or change your DNS server)

Or, hide this message: temporarily or permanently

Control Unit Bulb Replacement

CAUTION:
^ Before replacing bulbs, discharge the static electricity (which accumulated on you when you removed the climate control unit) by touching the door striker or other body parts.
^ Do no touch the electronic components on the printed circuit board in the climate control unit.

1. Remove the climate control unit.

Bulb Replacement:




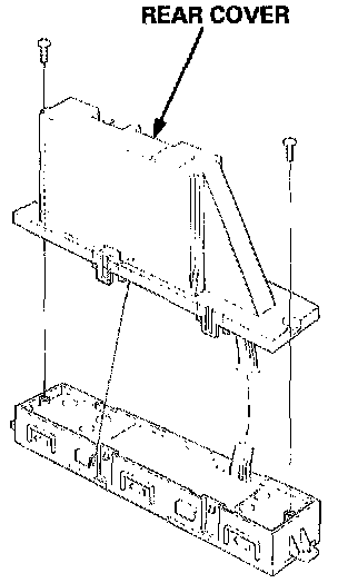
2. Carefully remove the self-tapping screws and the rear cover.

Bulb Replacement:




3. Remove the bulb(s) with a flat-tip screwdriver.
4. Install in the reverse order of removal. Make note of the following items.
^ Do not kink or pull on the wires between the control unit and printed circuit board.
^ After installation, operate the climate control unit to see whether it works properly.
^ Run the self-diagnosis function to confirm that there are no problems in the system.