Operation CHARM: Car repair manuals for everyone.
Manuals through 2025 now available!

Our trusted friends have launched a new website named LEMON, which has newer manuals. It also contains all the CHARM manuals.

LEMON is the spiritual successor to CHARM, I recommend you try it!

Link: lemon-manuals.la or lemon-manuals.org.ua

(Some people have issue connecting. LEMON is investigating. For now, use Firefox or change your DNS server)

Or, hide this message: temporarily or permanently

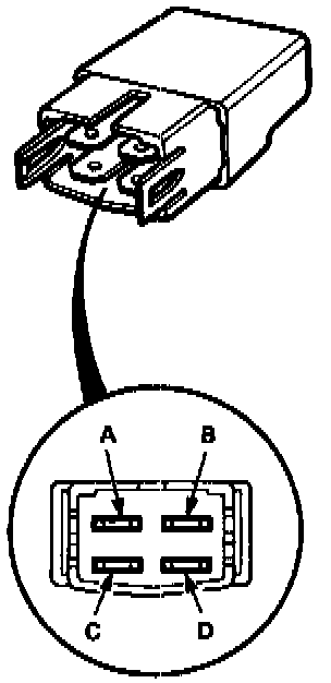
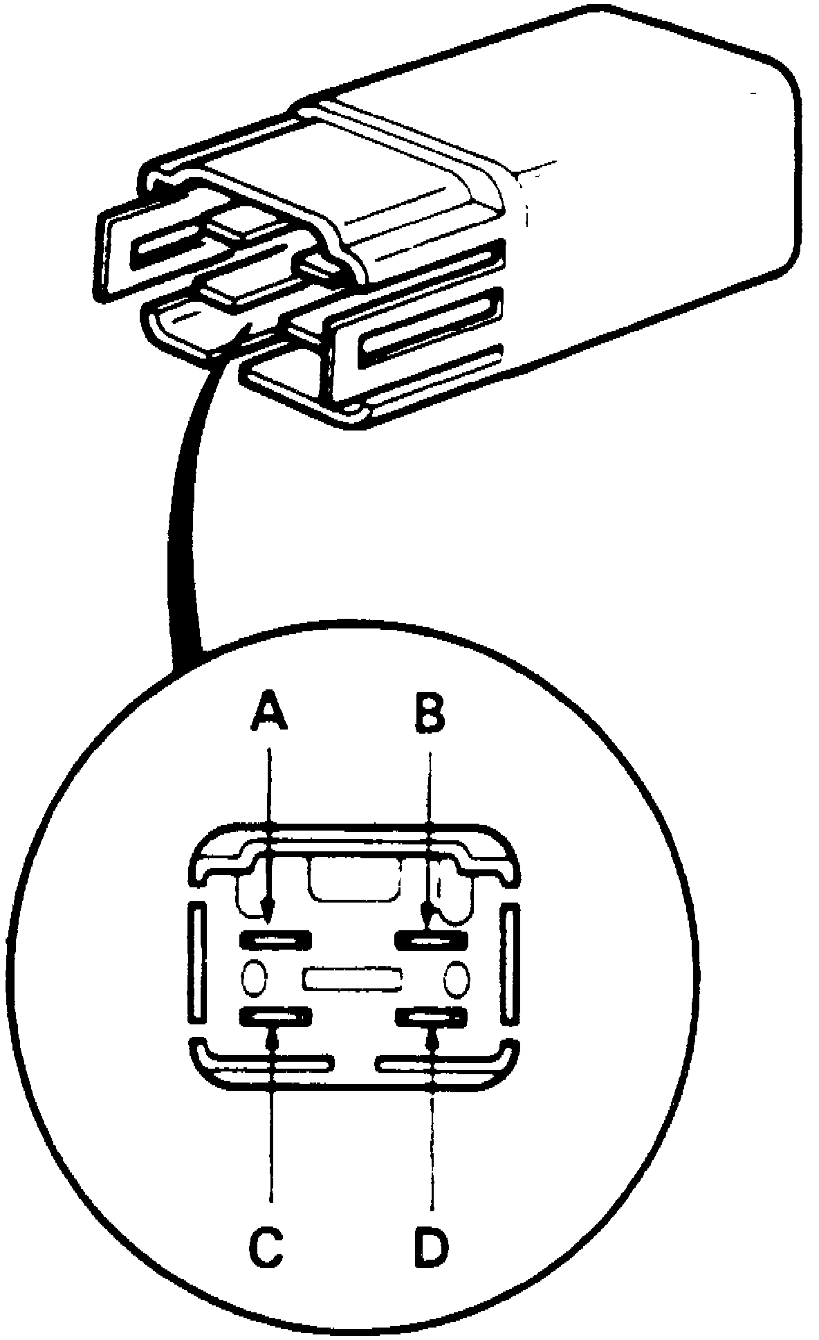
Power Distribution Relay: Testing and Inspection

RELAY TEST

Normally-Open Type
1. Remove the power relay from its socket.







2. Check continuity between relay terminals.
- There should be continuity between the A and C terminals when power and ground are connected to the B and D terminals.
- There should be no continuity when power is disconnected.


Fig. 23 Relay Terminal Identification:






- Power Window Relay
- Radiator Fan Relay
- [1][2]Blower Motor Relay







- Starter Cut Relay
- Condenser Fan Relay
- A/C Compressor Clutch Relay
- ABS Front Fail-Safe Relay
- ABS Rear Fail-Safe Relay







- Horn Relay







- Moonroof Relay







- ABS Pump Motor Relay







- Rear Window Defogger Relay