Operation CHARM: Car repair manuals for everyone.
Manuals through 2025 now available!

Our trusted friends have launched a new website named LEMON, which has newer manuals. It also contains all the CHARM manuals.

LEMON is the spiritual successor to CHARM, I recommend you try it!

Link: lemon-manuals.la or lemon-manuals.org.ua

(Some people have issue connecting. LEMON is investigating. For now, use Firefox or change your DNS server)

Or, hide this message: temporarily or permanently

Quick Chart For Check Points








1. MIRRORS ON BOTH SIDES DO NOT OPERATE




2. MIRROR ON THE LEFT (OR RIGHT) SIDE DOES NOT OPERATE
3. MIRRORS ON BOTH SIDES OPERATE ONLY IN THE VERTICAL (OR HORIZONTAL) DIRECTION
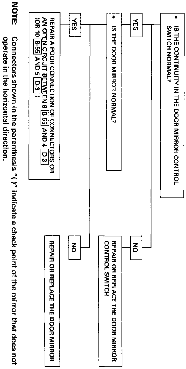
Repair or replace the door mirror control SW




4. MIRROR ON THE LEFT SIDE OPERATES ONLY IN THE VERTICAL (OR HORIZONTAL) DIRECTION




5. MIRROR ON THE RIGHT SIDE OPERATES ONLY IN THE VERTICAL (OR HORIZONTAL) DIRECTION




6. FOLDING MECHANISM OF THE BOTH MIRRORS DOES NOT OPERATE




7. FOLDING MECHANISM OF THE MIRROR ON THE LEFT (OR RIGHT) SIDE DOES NOT OPERATE




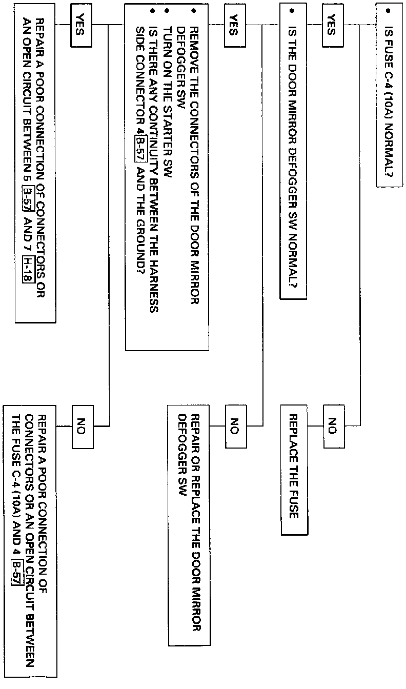
8. MIRROR DEFOGGERS ON BOTH SIDES DO NOT OPERATE




9. MIRROR DEFOGGER ON THE LEFT (OR RIGHT) SIDE DOES NOT OPERATE