Operation CHARM: Car repair manuals for everyone.
Manuals through 2025 now available!

Our trusted friends have launched a new website named LEMON, which has newer manuals. It also contains all the CHARM manuals.

LEMON is the spiritual successor to CHARM, I recommend you try it!

Link: lemon-manuals.la or lemon-manuals.org.ua

(Some people have issue connecting. LEMON is investigating. For now, use Firefox or change your DNS server)

Or, hide this message: temporarily or permanently

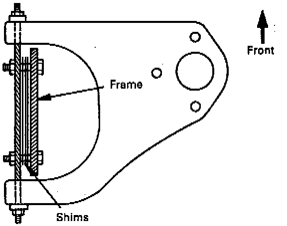
Camber

CAUTION: Left and right side to be equal within 1/3.








The camber angle can be adjusted by means of the camber shims installed in position between the chassis frame and fulcrum pins. Tighten the fulcrum pin bolt to the specified torque 152 Nm (112 ft. lbs.).

NOTE: Overall thickness of caster shim and camber shim shall be 10.8 mm (0.425 inch) or less.