Vehicle Speed Sensor: Testing and Inspection
The vehicle speed sensor is installed on the rear portion of the transmission.
The number of pulses generated is four pulses per one rotation of the pinion shaft.
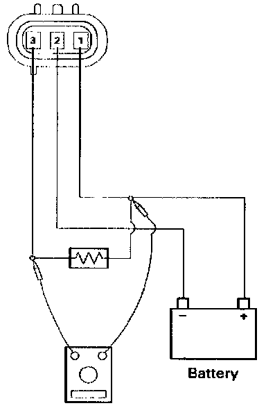
1. Connect the vehicle speed sensor connector 1[M-10] to the battery (+) terminal and 2[M-10] to the (-) terminal.
2. Connect a resistance of 1.3 K Ohm to 5 K Ohm (1/4 W or more) between connectors 1[M-10] and 3[M-10].
CAUTION: Be extremely careful not to connect the battery (+) terminal to the connector 3[M-10].
This may damage the vehicle speed sensor.
3. Rotate the shaft of the vehicle speed sensor slowly and measure the voltage at both ends with a digital tester
The voltage, with one rotation of shaft, fluctuates four times in the following range :10 to 14V <-> 2V or less.
Replace the sensor when the result of inspection is found abnormal.