Operation CHARM: Car repair manuals for everyone.
Manuals through 2025 now available!

Our trusted friends have launched a new website named LEMON, which has newer manuals. It also contains all the CHARM manuals.

LEMON is the spiritual successor to CHARM, I recommend you try it!

Link: lemon-manuals.la or lemon-manuals.org.ua

(Some people have issue connecting. LEMON is investigating. For now, use Firefox or change your DNS server)

Or, hide this message: temporarily or permanently

Charging System: Testing and Inspection

If the charging system light does not come on or does not go off, or the battery is dead or low, test the following items in the order listed below:

1. Battery
2. Charging system light
3. Voltage
4. Alternator control system
5. Alternator/regulator

Charging System Light Test (Part 1 Of 2):




Charging System Light Test (Part 2 Of 2):




Charging System Light Test





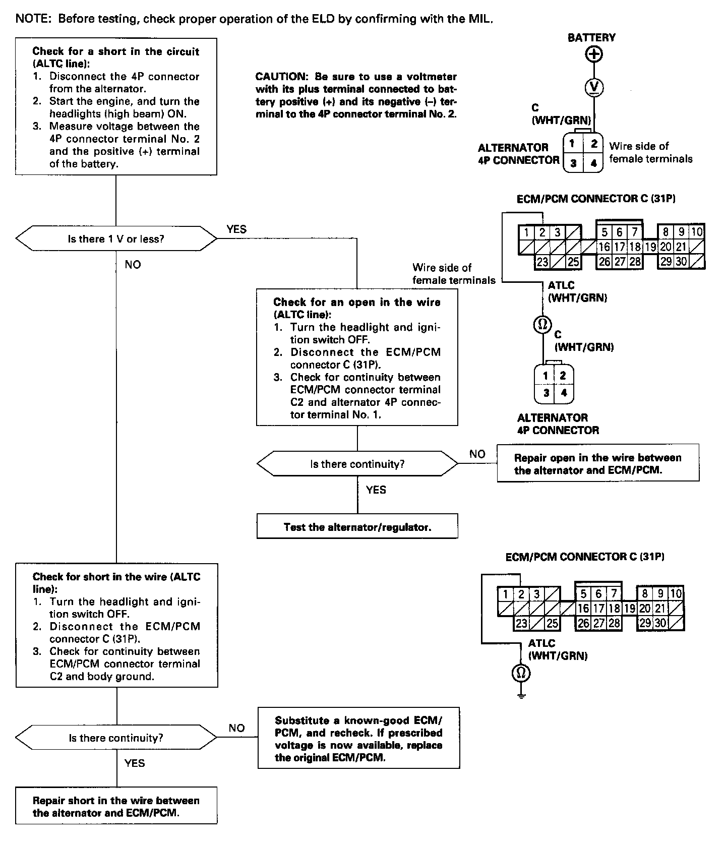
Alternator Control System Test

Alternator/Regulator Test (Part 1 Of 2):




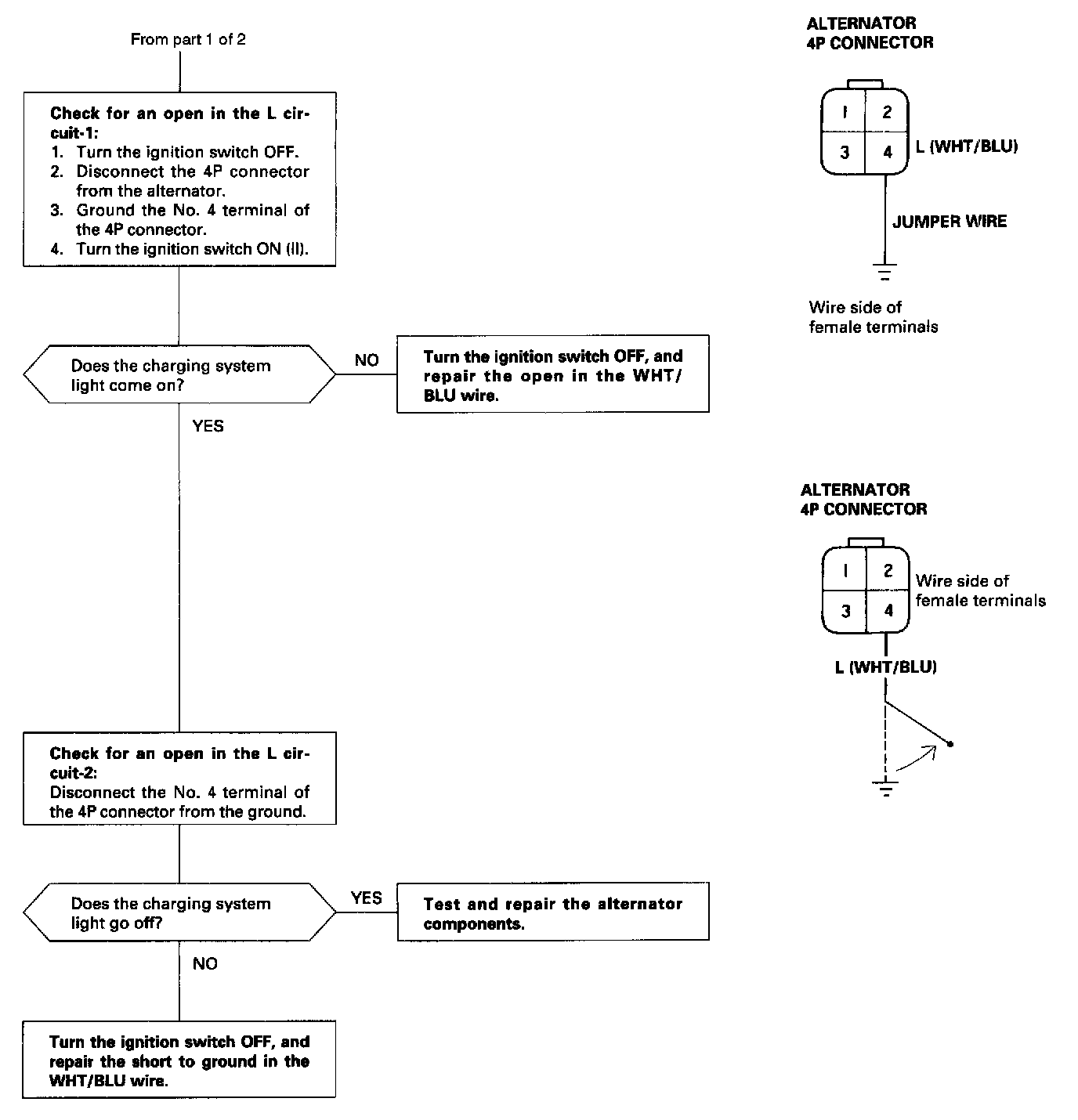
Alternator/Regulator Test (Part 2 Of 2):




Alternator/Regulator Test