Operation CHARM: Car repair manuals for everyone.
Manuals through 2025 now available!

Our trusted friends have launched a new website named LEMON, which has newer manuals. It also contains all the CHARM manuals.

LEMON is the spiritual successor to CHARM, I recommend you try it!

Link: lemon-manuals.la or lemon-manuals.org.ua

(Some people have issue connecting. LEMON is investigating. For now, use Firefox or change your DNS server)

Or, hide this message: temporarily or permanently

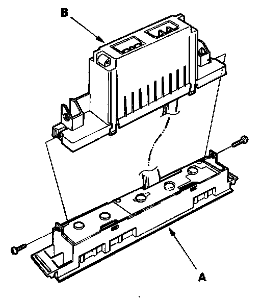
Climate Control Unit Bulb Replacement

Climate Control Unit Bulb Replacement

With Navigation System

1. Discharge the static electricity (which accumulated on you when you removed the climate control unit) by touching the door striker or other body parts.




2. Remove the self-tapping screws, then carefully separate the climate control unit display (A) and control unit (B). Do not kink or pull on the wires between the display and the control unit. Do not touch the electronic components on the printed circuit board in the control unit.




3. Remove the bulb(s) with a flat-tip screwdriver.
4. Install the bulb in the reverse order of removal.