Operation CHARM: Car repair manuals for everyone.
Manuals through 2025 now available!

Our trusted friends have launched a new website named LEMON, which has newer manuals. It also contains all the CHARM manuals.

LEMON is the spiritual successor to CHARM, I recommend you try it!

Link: lemon-manuals.la or lemon-manuals.org.ua

(Some people have issue connecting. LEMON is investigating. For now, use Firefox or change your DNS server)

Or, hide this message: temporarily or permanently

Power Relay Test

Power Relay Test

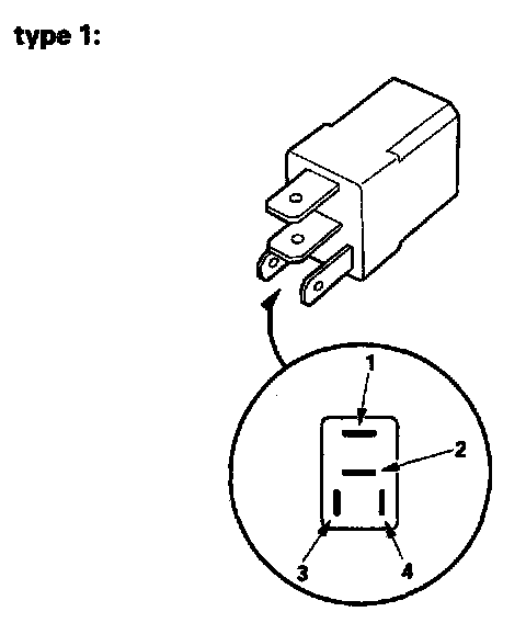
Normally-open type A:













Check for continuity between the terminals.
- There should be continuity between the No. 1 and No. 2 terminals when power and ground are connected to the No. 3 and No. 4 terminals.
- There should be no continuity between the No. 1 and No. 2 terminals when power is disconnected.

- ABS fail-safe relay
- Accessory power socket relay
- A/C compressor fan relay
- A/T reverse relay
- Condenser fan relay
- Headlight relay 1
- Headlight relay 2
- High beam cut relay (Canada)
- Horn relay
- Power window relay
- Radiator fan relay
- Seat heater relay
- Starter cut relay
- Taillight relay
- TCS relay
- VSA relay
- VSA throttle motor relay

Normally-open type B:
















Check for continuity between the terminals.

- There should be continuity between the No. 1 and No. 3 terminals when power and ground are connected to the No. 2 and No. 4 terminals.
- There should be no continuity between the No. 1 and No. 3 terminals when power is disconnected.

Five-terminal type A:







Check for continuity between the terminals.

- There should be continuity between the No. 1 and No. 2 terminals when power and ground are connected to the No. 3 and No. 5 terminals.
- There should be continuity between the No. 2 and No. 4 terminals when power is disconnected.

Five-terminal type B:




Fan Control Relay, Moonroof Close Relay, Moonroof Open Relay, Shift Lock Relay:




Check for continuity between the terminals.

- There should be continuity between the No. 1 and No. 2 terminals when power and ground are connected to the No. 3 and No. 5 terminals.
- There should be continuity between the No. 1 and No. 4 terminals when power is disconnected.