Operation CHARM: Car repair manuals for everyone.
Manuals through 2025 now available!

Our trusted friends have launched a new website named LEMON, which has newer manuals. It also contains all the CHARM manuals.

LEMON is the spiritual successor to CHARM, I recommend you try it!

Link: lemon-manuals.la or lemon-manuals.org.ua

(Some people have issue connecting. LEMON is investigating. For now, use Firefox or change your DNS server)

Or, hide this message: temporarily or permanently

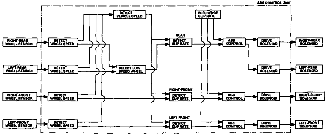
Electronic Brake Control Module: Description and Operation

ABS Control Unit
Main Control
The ABS control unit detects the wheel speed based on the wheel sensor signal it received, then it calculates the vehicle speed based on the detected wheel speed. The control unit detects the vehicle speed during deceleration based on the rate of deceleration.
The ABS control unit calculates the slip rate of each wheel, and it transmits the control signal to the modulator unit solenoid valve when the slip rate is high.





The pressure reduction control has 3-modes: pressure reduction, pressure retaining, and pressure intensifying.

Self-diagnosis
1. The ABS control unit is equipped with a main CPU and a sub CPU. Each CPU checks the other for problems.
2. The CPUs check the circuit of the system.
3. Self-diagnosis can be class field into 2 categories:
^ Initial diagnosis: Performed right after the engine starts and until the ABS indicator goes off.
^ Regular diagnosis: Performed right after the initial diagnosis until the ignition switch is turned OFF.
4. When a problem is detected by self-diagnosis, the system:
^ Turns the fail-safe relay OFF
^ Turns the solenoid valve OFF
^ Turn the pump motor OFF
^ Turns the ABS indicator ON





Self-diagnosis Table





Operation Mode Table

On-board Diagnosis Function
The ABS control unit is connected to the 16P Data Link Connector.
The ABS can be diagnosed with the Honda PGM Tester.
The ALB Checker cannot be used with this system. For air bleeding, and checking wheel sensor signals, use the Honda PGM Tester. See the Honda PGM Tester user's manuals for specific operating instructions.