Operation CHARM: Car repair manuals for everyone.
Manuals through 2025 now available!

Our trusted friends have launched a new website named LEMON, which has newer manuals. It also contains all the CHARM manuals.

LEMON is the spiritual successor to CHARM, I recommend you try it!

Link: lemon-manuals.la or lemon-manuals.org.ua

(Some people have issue connecting. LEMON is investigating. For now, use Firefox or change your DNS server)

Or, hide this message: temporarily or permanently

Glass Replacement Process

Replacement

NOTE:
- This procedure is a general description of the glass replacement process. The illustration on each step except step 17 shows the windshield for example. For details about fastener, clip, rubber dam, and other locations, windshield, rear window, quarter glass.
- For glass with a replaceable molding, such as the rear window: Take care not to damage the molding when removing the glass and molding at the same time.
- For glass with a irreplaceable molding, such as the quarter glass:

Take care not to damage the molding when removing the glass. If the molding is damaged, replace the glass, molding, and clips as an assembly. But if any of the clips are broken, the glass can be reinstalled using butyl tape.

- Put on gloves to protect your hands.
- Wear eye protection when removing the glass with piano wire.
- Use seat covers to avoid damaging any surfaces.

1. To remove the glass, first remove the related parts, windshield, rear window, quarter glass.
2. If equipped, disconnect the connectors from the glass terminals.




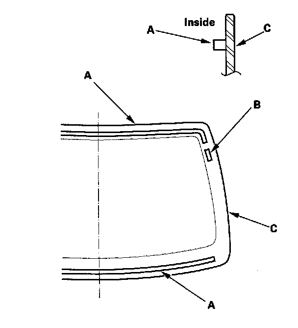
3. If necessary, remove the molding (A) from the edge of the glass (B). If necessary, cut the molding with a utility knife. If the molding is part of the glass, take care not to damage the molding.
4. If necessary, remove the glass brackets (C).
5. If the old glass is to be reinstalled, make the alignment marks across the glass and body with a grease pencil. If the glass aligns with the clips, the alignment marks are not needed.
6. Apply protective tape along the edge of the body and the related parts.
7. Using an awl, make a hole through the adhesive from inside the vehicle at the corner portion of the glass, windshield, rear window, quarter glass.
8. Push a piece of piano wire through the hole, and wrap each end around a piece of wood.




9. With a helper on the outside, pull the piano wire (A) back and forth in a sawing motion. Hold the piano wire as close to the glass as possible to prevent damage to the body and related parts. Carefully cut through the rubber dam and adhesive around the entire glass.
10. Carefully remove the glass.
11. Replace any damaged interior trim and body seals.
12. With a knife, scrape the old adhesive smooth to a thickness of about 2 mm (0.08 in.) on the bonding surface around the entire glass opening flange:
- Do not scrape down to the painted surface of the body; damaged paint will interfere with proper bonding.
- Remove any remaining parts from the body.
- Mask off surrounding surfaces before painting.

13. Clean the body bonding surface with a sponge dampened in alcohol. After cleaning, keep oil, grease, and water from getting on the clean surface.
14. If the old glass is to be reinstalled, use a putty knife to scrape off all of the old adhesive and any remaining parts from the glass. If any of the broken clips remain on the glass, even if they are irreplaceable, remove them. Clean the inside face and the edge of the glass with alcohol where the adhesive is to be applied. If the damaged molding is replaceable, remove it. If it is irreplaceable, replace the glass, molding, and clips as an assembly. Make sure the bonding surface is kept free of water, oil, and grease.




15. Glue the rubber dam (A), fastener (B), and other parts to the inside face of the glass (C), windshield, rear window, quarter glass. Be careful not to touch the glass where adhesive will be applied.




16. Glue the molding (A) with adhesive tape (B) to the edge of the glass (C), windshield, rear window. Be careful not to touch the glass where adhesive will be applied.




17. If the old glass (A) is to be reinstalled (and any of the irreplaceable clips are broken off the molding), apply a light coat of primer (C-100, or equivalent), then apply butyl tape (B) to the molding (C) as shown, quarter glass.
- Be careful not to touch the glass where adhesive will be applied.
- Do not peel the separator off the butyl tape until just before the installation.




18. Install the fasteners (A) and glass brackets (B) to the body, windshield, rear window. Do not fix the glass bracket screws at this time. If old glass is to be reinstalled and any of the irreplaceable clips are broken, seal the body holes with pieces of urethane tape, quarter glass.




19. If new glass is to be installed, set the glass (A) in the opening, and center it. Make alignment marks (B) across the glass and body with a grease pencil. If the glass has alignment clips, alignment marks are not needed. Be careful not to touch the glass where adhesive will be applied.
20. Adjust the glass brackets (B) to the center the windshield in the opening, then tighten the screws (C).
21. Remove the glass.




22. With a sponge, apply a light coat of glass primer around the edge of the glass (A) between the rubber dam (B) and molding (C) as shown, then lightly wipe it off with gauze or cheesecloth, windshield, rear window, quarter glass.
- Apply glass primer to the molding.
- Do not apply body primer to the glass, and do not get body and glass primer sponges mixed up.
- Never touch the primed surfaces with your hands. If you do, the adhesive may not bond to the glass properly, causing a leak after the glass is installed.
- Keep water, dust, and abrasive materials away from the primed surface.




23. With a sponge, apply a light coat of body primer to the original adhesive remaining around the windshield opening flange, windshield, rear window, quarter glass. Let the body primer dry for at least 10 minutes.
- Do not apply glass primer to the body, and be careful not to mix up glass and body primer sponges.
- Never touch the primed surfaces with your hands.
- Mask off the interior parts before painting the flange.

24. Throughly mix the adhesive and hardener together on a clean glass or metal plate with a putty knife. Follow the instructions that came with the adhesive.




25. Before filling a cartridge, cut a "V" in the end of the nozzle as shown.




26. Pack adhesive into the cartridge without air pockets to ensure continuous delivery. Put the cartridge in a caulking gun, and run a bead of adhesive (A) around the edge of the glass (B) between the rubber dam (C) and molding (D) as shown, windshield, rear window, quarter glass. Apply the adhesive within 30 minutes after applying the glass primer. Make a slightly thicker bead at each corner.
27. Use suction cups to hold the glass over the opening, align it with the alignment marks made in step 5 or 18 and/or the clips, and set it down on the adhesive. Lightly push on the glass until its edges are fully seated on the adhesive all the way around. Do not open or close the doors until the adhesive is dry.
28. Scrape or wipe the excess adhesive off with a putty knife or towel. To remove adhesive from a painted surface or the glass, wipe with a soft shop towel dampened with alcohol.
29. Let the adhesive dry for at least one hour, then spray water over the glass and check for leaks. Mark leaking areas, and let the glass dry, then seal with sealant:
- Let the vehicle stand for at least four hours after glass installation. If the vehicle has to be used within the first four hours, it must be driven slowly.
- Keep the glass dry for the first hour after installation.

30. Reinstall all remaining removed parts. Advise the customer not to do the following things for two to three days.
- Slam the doors with all the windows rolled up.
- Twist the body excessively (such as when going in and out of driveways at an angle or driving over rough, uneven roads).