Operation CHARM: Car repair manuals for everyone.
Manuals through 2025 now available!

Our trusted friends have launched a new website named LEMON, which has newer manuals. It also contains all the CHARM manuals.

LEMON is the spiritual successor to CHARM, I recommend you try it!

Link: lemon-manuals.la or lemon-manuals.org.ua

(Some people have issue connecting. LEMON is investigating. For now, use Firefox or change your DNS server)

Or, hide this message: temporarily or permanently

Entertainment System Control Panel: Service and Repair

Rear Controller and Screen Removal/Installation

NOTE:
- Put on gloves to protect your hands.
- Take care not scratch the headliner and display cover.




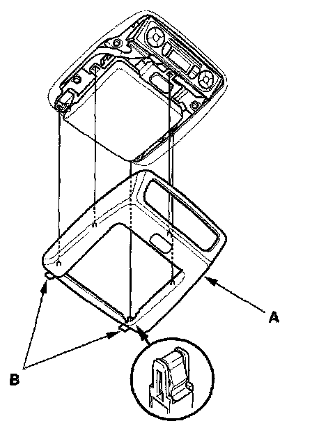
1. Remove the display cover (A) by pulling down on the rear. There are hooks (B) on the front.




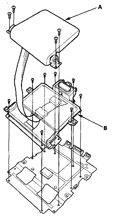
2. Remove the mounting bolts (A).
3. Disconnect the connector (B) from the rear controller and screen.




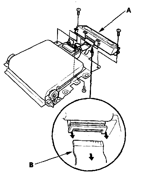
4. Remove the screws from the controller (A).
5. Disconnect the cable (B) from the controller.




6. Remove the screws, then remove the screen (A) and base (B).




7. Remove the screws and lock switch (A).
8. Install the parts in the reverse order of removal, and make sure the rear controller and screen connector is plugged in properly.