Operation CHARM: Car repair manuals for everyone.
Manuals through 2025 now available!

Our trusted friends have launched a new website named LEMON, which has newer manuals. It also contains all the CHARM manuals.

LEMON is the spiritual successor to CHARM, I recommend you try it!

Link: lemon-manuals.la or lemon-manuals.org.ua

(Some people have issue connecting. LEMON is investigating. For now, use Firefox or change your DNS server)

Or, hide this message: temporarily or permanently

Restraints and Safety Systems: Service and Repair

Roll Rate Sensor Replacement

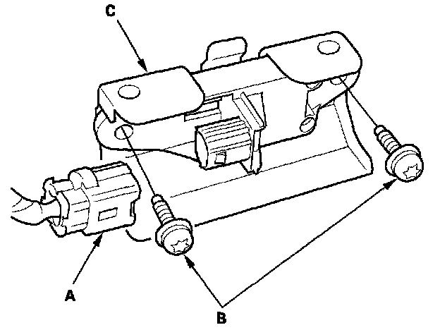
Removal

1. Disconnect the battery negative cable, and wait at least 3 minutes before beginning work.
2. Remove the center console.




3. Disconnect the SRS left side subharness 2P connector (A) from the roll rate sensor.
4. Using a Torx T30 bit, remove the Torx bolts (B) then remove the roll rate sensor (C).

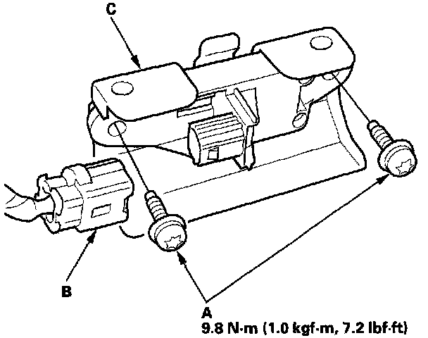
Installation




1. Install the new roll rate sensor with Torx bolts (A) then connect the SRS left side subharness 2P connector (B) to the roll rate sensor (C).
2. Reconnect the battery negative cable.
3. Install all removed parts.
4. After installing the roll rate sensor, confirm proper system operation: Turn the ignition switch ON (II); the SRS indicator should come on for about 6 seconds and then go off.