Operation CHARM: Car repair manuals for everyone.
Manuals through 2025 now available!

Our trusted friends have launched a new website named LEMON, which has newer manuals. It also contains all the CHARM manuals.

LEMON is the spiritual successor to CHARM, I recommend you try it!

Link: lemon-manuals.la or lemon-manuals.org.ua

(Some people have issue connecting. LEMON is investigating. For now, use Firefox or change your DNS server)

Or, hide this message: temporarily or permanently

Front Fender Fairing

Front Fender Fairing Replacement

1. Remove the front inner fender as needed.




2. Open the door, and remove the clips that secure the front fender fairing (A). Remove the upper clip (B) from outside the door, and the lower clip (C) from inside the door.




3. Release the clips (A, B) from the wheel arch.
4. Remove the front fender fairing (C).




5. Install the fender fairing in the reverse order of removal, and note these items:
- Check if the clips are damaged or stress-whitened, and if necessary, replace them with new ones.
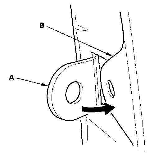
- Before installing the clips in the door opening area, install the front fender fairing (A) on the front fender (B) as shown.
- Push the clips into place securely.