Operation CHARM: Car repair manuals for everyone.
Manuals through 2025 now available!

Our trusted friends have launched a new website named LEMON, which has newer manuals. It also contains all the CHARM manuals.

LEMON is the spiritual successor to CHARM, I recommend you try it!

Link: lemon-manuals.la or lemon-manuals.org.ua

(Some people have issue connecting. LEMON is investigating. For now, use Firefox or change your DNS server)

Or, hide this message: temporarily or permanently

Rearview Mirror

Rearview Mirror Replacement

Special Tools Required
KTC trim tool set SOJATP2014 *
* Available through the American Honda Tool and Equipment Program

NOTE:
- Use the appropriate tool from the KTC trim tool set to avoid damage when prying components.
- When prying with a flat-tip screwdriver, wrap it with protective tape to prevent damage.




1. Using a trim tool, carefully remove the front cover (A) by releasing the hooks (B), and then disconnect the connector (C).




2. Carefully remove the bracket cover (A) by releasing the hooks (B). Take care not to scratch the cover and mirror bracket (C).




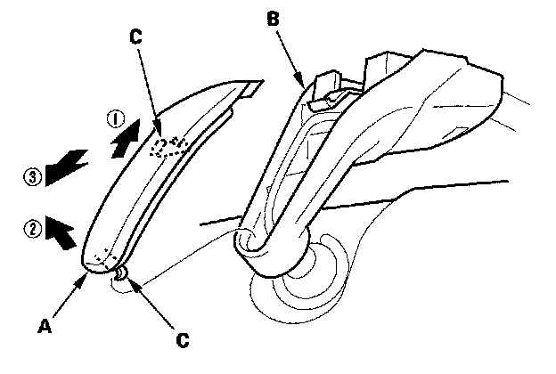
3. Slide the rearview mirror (A) forward to release the spring (B) by gently tapping the mirror bracket with a flat4ip screwdriver and a plastic hammer. Remove the mirror from the lug (C).




4. Remove the cover (A) from the mirror bracket (B) by releasing the hooks (C) in the sequence shown.




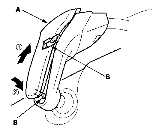
5. Install the rearview mirror (A) by sliding it over the lug (B) until the spring contacts the lug. Gently tap the mirror bracket with a flat-tip screwdriver and a plastic hammer. Be careful not to damage the wires.




6. Install the cover (A) in the sequence shown. Take care not to damage the hooks (B).
7. Install the bracket cover, and connect the connector, then install the headliner cap.