Operation CHARM: Car repair manuals for everyone.
Manuals through 2025 now available!

Our trusted friends have launched a new website named LEMON, which has newer manuals. It also contains all the CHARM manuals.

LEMON is the spiritual successor to CHARM, I recommend you try it!

Link: lemon-manuals.la or lemon-manuals.org.ua

(Some people have issue connecting. LEMON is investigating. For now, use Firefox or change your DNS server)

Or, hide this message: temporarily or permanently

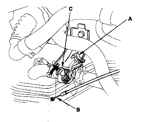
Heater Control Valve Cable: Adjustments

Heater Valve Cable Adjustment




1. From under the hood, open the cable clamp (A), then disconnect the heater valve cable (B) from the heater valve arm (C).




2. From under the dash, disconnect the heater valve cable housing from the cable clamp (A) and disconnect the heater valve cable (B) from the air mix control linkage (C).
3. Set the temperature control button to Max Cool (Lo) with the ignition switch ON (II).
4. Attach the heater valve cable (B) to the air mix control linkage (C) as shown in step 2. Hold the end of the heater valve cable housing against the stop (D), then snap the heater valve cable housing into the cable clamp (A).

NOTE: Make sure the ring-end of the cable is pushed all the way to the base of the pin on air mix control linkage.




5. From under the hood, turn the heater valve arm (C) to the fully closed position as shown, and hold it. Attach the heater valve cable (B) to the heater valve arm, and gently pull on the heater valve cable housing to take up any slack, then install the heater valve cable housing into the cable clamp (A).