Operation CHARM: Car repair manuals for everyone.
Manuals through 2025 now available!

Our trusted friends have launched a new website named LEMON, which has newer manuals. It also contains all the CHARM manuals.

LEMON is the spiritual successor to CHARM, I recommend you try it!

Link: lemon-manuals.la or lemon-manuals.org.ua

(Some people have issue connecting. LEMON is investigating. For now, use Firefox or change your DNS server)

Or, hide this message: temporarily or permanently

Tire Pressure Module: Service and Repair

TPMS Control Unit Replacement

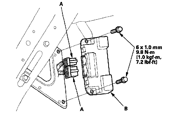
NOTE: Make sure the TPMS control unit mounting base is not bent or twisted as this may effect communication with the indicators and the tire pressure sensors.

1. Remove the rear seat-back.





2. Disconnect the TPMS control unit connectors (A).
3. Remove the TPMS control unit (B).
4. Install the TPMS control in the reverse order of removal.
5. Connect the HDS, and memorize the pressure sensor IDs. Do not memorize the IDs automatically.