Operation CHARM: Car repair manuals for everyone.
Manuals through 2025 now available!

Our trusted friends have launched a new website named LEMON, which has newer manuals. It also contains all the CHARM manuals.

LEMON is the spiritual successor to CHARM, I recommend you try it!

Link: lemon-manuals.la or lemon-manuals.org.ua

(Some people have issue connecting. LEMON is investigating. For now, use Firefox or change your DNS server)

Or, hide this message: temporarily or permanently

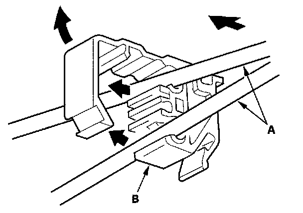
Trunk / Liftgate Spring: Service and Repair

Trunk Lid Torsion Bar Replacement

Special Tools Required
Torsion bar assembly tool 07AAF-SNAA100




1. Remove the torsion bars (A) from the torsion bar center clip (B).




2. Put on gloves to protect your hands. Remove the torsion bars with the torsion bar assembly tool (A) from both trunk lid hinges. First remove the left torsion bar (B), then remove the right torsion bar (C).




3. Remove the torsion bar center clip from the body.




4. Install the torsion bars in the reverse order of removal, and note these items:
- The shapes of the right torsion bar (A) and left torsion bar (B) are shown. Install the torsion bars properly.
- Adjust the torsion bars forward or rearward with the torsion bar assembly tool.
- Positions where each torsion bar was installed at the factory:
- Left torsion bar: Normal position
- Right torsion bar: Higher tension

- Make sure the trunk lid opens properly and locks securely.