Operation CHARM: Car repair manuals for everyone.
Manuals through 2025 now available!

Our trusted friends have launched a new website named LEMON, which has newer manuals. It also contains all the CHARM manuals.

LEMON is the spiritual successor to CHARM, I recommend you try it!

Link: lemon-manuals.la or lemon-manuals.org.ua

(Some people have issue connecting. LEMON is investigating. For now, use Firefox or change your DNS server)

Or, hide this message: temporarily or permanently

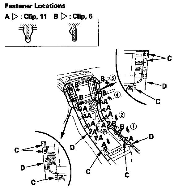
Center Console Rear Section

Center Console Rear Section Removal/Installation

Special Tools Required
KTC trim tool set SOJATP2014 *
* Available through the American Honda Tool and Equipment Program.

NOTE:
- Use the appropriate tool from the KTC trim tool set to avoid damage when removing components.
- Take care not to scratch the front seat, dashboard, and related parts.




1. Detach the clips (A, B), and release the hooks (C) by pulling the center console trim (D) from both sides.




2. Open the console box lid (A) then remove the console mat (B) and screws (C, D).




3. Slide the rear section of the center console (A) rearward to release the hooks (B).




4. Lift up the rear of the console (A). Release the harness retainer clip (B) from the air duct, and disconnect the console accessory power socket connector (C), the light bulb socket connector (D), and the AUX connector (E), then remove the rear section of the center console.
5. Install the console in the reverse order of removal, and note these items:
- Check if the clips are damaged or stress-whitened, and if necessary, replace them with new ones.
- Push the clips into place securely.
- Make sure the console accessory power socket connector and the AUX connector are plugged in properly, and the light bulb socket is connected securely.