Operation CHARM: Car repair manuals for everyone.
Manuals through 2025 now available!

Our trusted friends have launched a new website named LEMON, which has newer manuals. It also contains all the CHARM manuals.

LEMON is the spiritual successor to CHARM, I recommend you try it!

Link: lemon-manuals.la or lemon-manuals.org.ua

(Some people have issue connecting. LEMON is investigating. For now, use Firefox or change your DNS server)

Or, hide this message: temporarily or permanently

Driving Position Memory System (DPMS)

Power Seat Adjustment Switch Test/Replacement




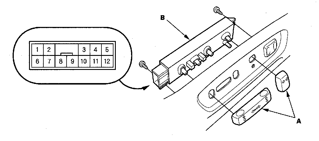
1. Remove the power seat adjustment switch knobs (A) and recline cover from the driver's power seat, then remove the two screws and the power seat switch.
2. Disconnect the 12P connector from the power seat adjustment switch (B).
3. Reinstall the adjustment switch knobs to the switch.




4. Check for continuity between the terminals in each switch position according to the table.
5. If the continuity is not as specified, replace the switch.