Operation CHARM: Car repair manuals for everyone.
Manuals through 2025 now available!

Our trusted friends have launched a new website named LEMON, which has newer manuals. It also contains all the CHARM manuals.

LEMON is the spiritual successor to CHARM, I recommend you try it!

Link: lemon-manuals.la or lemon-manuals.org.ua

(Some people have issue connecting. LEMON is investigating. For now, use Firefox or change your DNS server)

Or, hide this message: temporarily or permanently

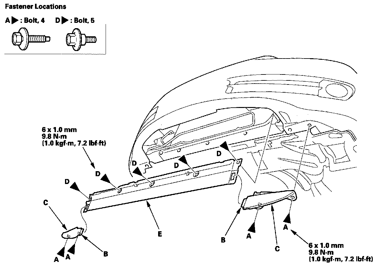
Front Strake Replacement

Front Strake Replacement

NOTE: Take care not to scratch the body.




1. Remove the bolts (A) and release the hooks (B), then remove the front strakes (C).
2. Remove the bolts (D), then remove the front air guide plate (E).
3. Install the strakes and plate in the reverse order of removal.