Operation CHARM: Car repair manuals for everyone.
Manuals through 2025 now available!

Our trusted friends have launched a new website named LEMON, which has newer manuals. It also contains all the CHARM manuals.

LEMON is the spiritual successor to CHARM, I recommend you try it!

Link: lemon-manuals.la or lemon-manuals.org.ua

(Some people have issue connecting. LEMON is investigating. For now, use Firefox or change your DNS server)

Or, hide this message: temporarily or permanently

Traction Control Switch: Testing and Inspection

VSA Off Switch Test
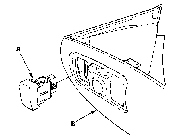
1. Remove the driver's dashboard lower cover, and disconnect the VSA OFF switch 5P connector.
2. Push out the VSA OFF switch (A) from the back of the dashboard lower cover (B).





3. Check for continuity between VSA OFF switch 5P connector terminals No. 1 and No. 2. there should be continuity while the switch is pressed, and no continuity when the switch is released.





4. Check for continuity between VSA OFF switch 5P connector terminals No. 3 and No. 4. there should be continuity at all times.