Operation CHARM: Car repair manuals for everyone.
Manuals through 2025 now available!

Our trusted friends have launched a new website named LEMON, which has newer manuals. It also contains all the CHARM manuals.

LEMON is the spiritual successor to CHARM, I recommend you try it!

Link: lemon-manuals.la or lemon-manuals.org.ua

(Some people have issue connecting. LEMON is investigating. For now, use Firefox or change your DNS server)

Or, hide this message: temporarily or permanently

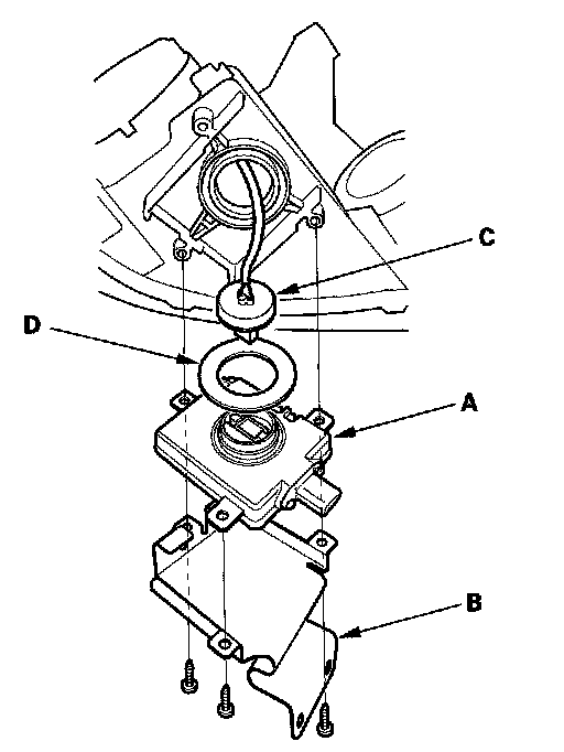
HID Unit Replacement

HID Unit Replacement

1. Make sure you have the anti-theft code for the audio system and the navigation system (if equipped), then write down the audio preset.
2. Turn the combination light switch OFF.
3. Disconnect the battery negative cable, then disconnect the positive cable.
4. Remove the headlight assembly.
5. Remove the bulb socket from the HID bulb.




6. Remove the three mounting screws, the HID unit (A) and HID unit cover (B).
7. Disconnect the 4P connector (C) from the HID unit.
8. Inspect the gasket (D) for damage. If damaged, replace it.
9. Install in the reverse order of removal.
10. Enter the anti-theft code for the audio system and the navigation system (if equipped), then enter the audio presets.
11. Set the clock.