Operation CHARM: Car repair manuals for everyone.
Manuals through 2025 now available!

Our trusted friends have launched a new website named LEMON, which has newer manuals. It also contains all the CHARM manuals.

LEMON is the spiritual successor to CHARM, I recommend you try it!

Link: lemon-manuals.la or lemon-manuals.org.ua

(Some people have issue connecting. LEMON is investigating. For now, use Firefox or change your DNS server)

Or, hide this message: temporarily or permanently

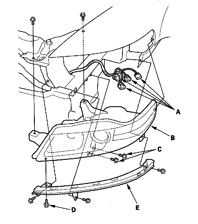
Headlight Replacement

Headlight Replacement

1. Remove the front bumper.




2. Remove the two screws and front bumper spacer (A).




3. Remove the connectors (A) from the headlight assembly (B).
4. Remove the seven mounting bolts and the headlight. For the right headlight assembly driver's side, remove the intake resonator. Passenger's side, remove the reservoir tank.
5. Remove the bolt (D) and the corner upper beam (E) from the headlight.
6. Install the headlight in the reverse order of removal.
7. After replacement, adjust the headlights to local requirement.