Operation CHARM: Car repair manuals for everyone.
Manuals through 2025 now available!

Our trusted friends have launched a new website named LEMON, which has newer manuals. It also contains all the CHARM manuals.

LEMON is the spiritual successor to CHARM, I recommend you try it!

Link: lemon-manuals.la or lemon-manuals.org.ua

(Some people have issue connecting. LEMON is investigating. For now, use Firefox or change your DNS server)

Or, hide this message: temporarily or permanently

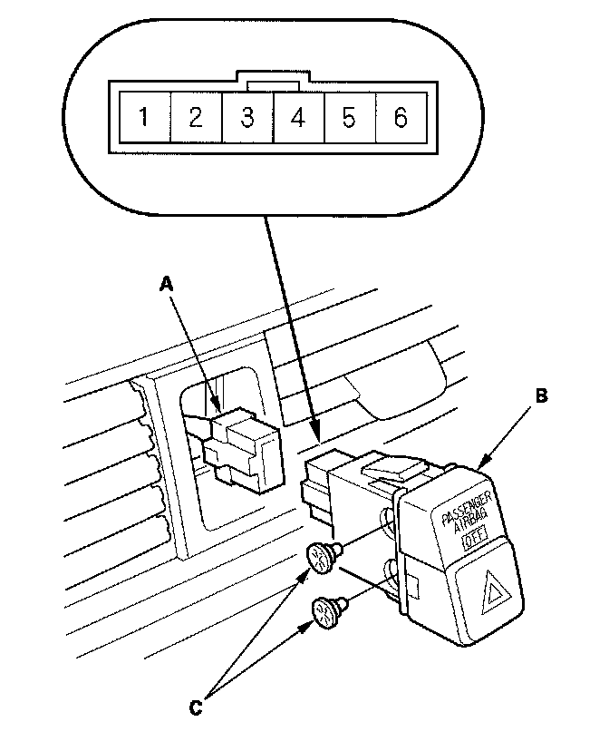
Hazard Warning Switch Test

Hazard Warning Switch Test

1. Remove the dashboard center vent.




2. Disconnect the 6P connector (A) from the hazard warning switch.
3. Remove the two mounting screws, then remove the hazard warning switch (B) from behind the upper panel.




4. Check for continuity between the terminals in each switch position according to the table.
5. If the continuity is not as specified, replace the bulb (C) or the hazard warning switch.