Operation CHARM: Car repair manuals for everyone.
Manuals through 2025 now available!

Our trusted friends have launched a new website named LEMON, which has newer manuals. It also contains all the CHARM manuals.

LEMON is the spiritual successor to CHARM, I recommend you try it!

Link: lemon-manuals.la or lemon-manuals.org.ua

(Some people have issue connecting. LEMON is investigating. For now, use Firefox or change your DNS server)

Or, hide this message: temporarily or permanently

A/T Clutch Pressure Control Solenoid Valve A Test

A/T Clutch Pressure Control Solenoid Valve A Test
1. Connect the HDS to the DLC (A).





2. Choose Clutch Pressure Control (Linear) Solenoid A in Miscellaneous Test Menu on the HDS.

NOTE: If the HDS does not communicate with the PCM, troubleshoot the DLC circuit.

3. Test A/T clutch pressure control solenoid valve A with the HDS.
^ If the valve tests OK, the test is complete. Disconnect the HDS.
^ If the valve does not test OK, follow the instructions on the HDS.
^ If the valve does not test OK, and the HDS does not determine the cause, go to step 4.

4. Make sure you have the anti-theft codes for the audio system and the navigation system (if equipped), and write down the audio presets.
5. Remove the battery trim and left upper fender cover.
6. Disconnect the negative terminal from the battery, then disconnect the positive terminal.
7. Remove the battery hold-down bracket, then remove the battery and battery tray.
8. Remove the intake air duct and air cleaner assembly.
9. Remove the battery base.
10. Disconnect the A/T clutch pressure control solenoid valve A connector.





11. Measure the resistance between A/T clutch pressure control solenoid valve A connector terminals No. 1 and No. 2.

Standard: 3-10 Ohms

^ If the resistance is out of standard, replace A/T clutch pressure control solenoid valve A.
^ If the resistance is within the standard, go to step 12.

12. Connect a jumper wire from the negative battery terminal to solenoid valve A connector terminal No. 2, and connect a jumper wire from the positive battery terminal to connector terminal No. 1.
^ If a clicking sound is heard, the valve is OK. Reconnect the connector, and install all removed parts.
^ If no clicking sound is heard, go to step 13.

13. Remove the nuts securing the shift cable bracket (A).





14. Remove the spring clip/washer (B) and the control pin (C), then separate the shift cable end (D) from the control lever (E).
15. Check the synthetic resin bushing (F) in the shift cable end for proper fit and wear. If the bushing is loose or worn, replace the shift cable.
16. Disconnect the connectors from A/T clutch pressure control solenoids valves A, B, solenoid harness, transmission range switch, ATF temperature sensor, output shaft (countershaft) speed sensor, input shaft (mainshaft) speed sensor, 3rd clutch transmission fluid pressure switch, and 4th clutch transmission fluid pressure switch.
17. Remove the bolt securing the harness cover (A).





18. Remove A/T clutch pressure control solenoid valves A and B, ATF pipes (C), gasket (D), and O-rings (E).





19. Check the fluid passage of the solenoid valve for contamination.
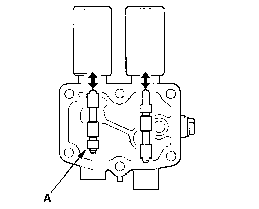
20. Connect a jumper wire from the negative battery terminal to A/T clutch pressure control solenoid valve A connector terminal No. 2, and connect a jumper wire from the positive battery terminal to connector terminal No. 1. Make sure A/T clutch pressure control solenoid valve A moves.





21. Disconnect one of the jumper wires and check the valve movement at the fluid passage in the valve body mounting surface. If the valve binds or moves sluggishly, or if the solenoid valve does not operate, replace A/T clutch pressure control solenoid valves A and B.
22. Clean the mounting surfaces and the fluid passages of the solenoid valve body and the solenoid valve cover.
23. Install the new solenoid valve body gasket on the solenoid valve cover, and install the ATF pipes with the filter end in the transmission housing. Install new O-rings over the ATF pipes.
24. Install A/T clutch pressure control solenoid valves A and B.
25. Secure the harness cover with the bolt.
26. Check the connectors for rust, dirt, or oil, clean or repair if necessary, then connect the connectors securely.
27. Apply molybdenum grease to the bore hole of synthetic resin bushing in the shift cable end, and the shift cable end to the control lever, then insert the control pin into the control lever hole through the shift cable end, and secure the control pin with the spring clip/washer.