Operation CHARM: Car repair manuals for everyone.
Manuals through 2025 now available!

Our trusted friends have launched a new website named LEMON, which has newer manuals. It also contains all the CHARM manuals.

LEMON is the spiritual successor to CHARM, I recommend you try it!

Link: lemon-manuals.la or lemon-manuals.org.ua

(Some people have issue connecting. LEMON is investigating. For now, use Firefox or change your DNS server)

Or, hide this message: temporarily or permanently

A/T Clutch Pressure Control Solenoid Valve C Test

A/T Clutch Pressure Control Solenoid Valve C Test
1. Connect the HDS to the DLC (A).





2. Choose Clutch Pressure Control (Linear) Solenoid C in Miscellaneous Test Menu on the HDS,
3. Test A/T clutch pressure control solenoid valve C with the HDS.
^ If the valve tests OK, the test is complete. Disconnect the HDS.
^ If the valve does not test OK, follow the instructions on the HDS.
^ If the valve does not test OK, and the HDS does not determine the cause, go to step 4.

4. Remove the battery trim and left upper fender cover.
5. Remove the intake air duct and air cleaner assembly.
6. Disconnect the A/T clutch pressure control solenoid valve C connector.





7. Measure the resistance between A/T clutch pressure control solenoid valve C connector terminals No. 1 and No. 2.

Standard: 3-10 Ohms

^ If the resistance is out of standard, replace the A/T clutch pressure control solenoid valve C.
^ If the resistance is within the standard, go to step 8.

8. Connect a jumper wire from the negative battery terminal to solenoid valve C connector terminal No. 2 and connect a jumper wire from the positive battery terminal to connector terminal No. 1.
^ If a clicking sound is heard, the valve is OK. Reconnect the Connector, and install all removed parts.
^ If no clicking sound is heard, go to step 9.

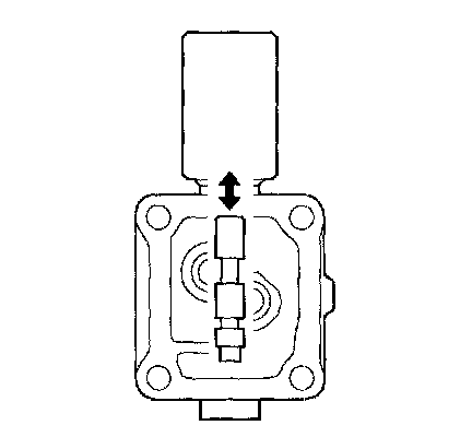
9. Remove A/T clutch pressure control solenoid valve C.





10. Remove the ATF joint pipes, O-rings, ATF pipe, and gasket.
11. Check the fluid passage of the solenoid valve for contamination.
12. Connect a jumper wire from the negative battery terminal to A/T clutch pressure control solenoid valve C connector terminal No. 2, and connect a jumper wire from the positive battery terminal to connector terminal No. 1. Make sure A/T clutch pressure control solenoid valve C moves.





13. Disconnect one of jumper wires and check the valve movement at the fluid passage in the valve body mounting surface. If the valve binds or moves sluggishly, or if the solenoid valve does not operate, replace A/T clutch pressure control solenoid valve C.
14. Clean the mounting surfaces and the fluid passages of the solenoid valve body and the transmission housing.
15. Install the 8 x 53 mm ATF joint pipe (A) with the filter side into its mounting hole (B).





16. Check the height (A) of the 8 x 53 mm ATF joint pipe (B) between the top (C) of the pipe and the solenoid valve body mounting surface (D). The height is about 7 mm (0.3 in.). If the height is over 7 mm (0.3 in.), push the pipe until it bottoms in the accumulator body.





17. Install the new gasket (A) on the transmission housing, and install the 8 x 34.5 mm ATF joint pipe (B) with the filter side into the transmission housing and 8 x 25.2 mm ATF pipe (D).





18. Install new O-rings (E) over the ATF joint pipes.
19. Install A/T clutch pressure control solenoid valve C.
20. Install the intake air duct and air cleaner assembly.
21. Install the left upper fender cover and battery trim.