Operation CHARM: Car repair manuals for everyone.
Manuals through 2025 now available!

Our trusted friends have launched a new website named LEMON, which has newer manuals. It also contains all the CHARM manuals.

LEMON is the spiritual successor to CHARM, I recommend you try it!

Link: lemon-manuals.la or lemon-manuals.org.ua

(Some people have issue connecting. LEMON is investigating. For now, use Firefox or change your DNS server)

Or, hide this message: temporarily or permanently

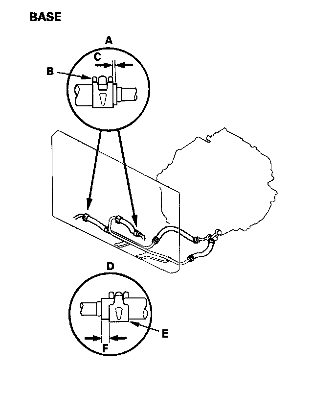
Fluid Line/Hose: Service and Repair

ATF Cooler Hose Replacement
1. Slide the ATF cooler hoses over the ATF cooler lines until the hose ends contact the bulge on the ATF cooler lines.
2. Type-S: Align the marks (A) on the ATF cooler hoses of the air cooled ATF cooler as shown.





3. At the joints (A) under the radiator, secure the hoses with the clips (B) at 2-41 mm (0.08-0.16 in.) (C) from the hose ends.








4. At the joints (D) except under the radiator, secure the hoses with the clips (E) at 6-8 mm (0.08-0.16 in.) (F) from the hose ends.