Operation CHARM: Car repair manuals for everyone.
Manuals through 2025 now available!

Our trusted friends have launched a new website named LEMON, which has newer manuals. It also contains all the CHARM manuals.

LEMON is the spiritual successor to CHARM, I recommend you try it!

Link: lemon-manuals.la or lemon-manuals.org.ua

(Some people have issue connecting. LEMON is investigating. For now, use Firefox or change your DNS server)

Or, hide this message: temporarily or permanently

Heated Glass Condenser: Service and Repair

AM/FM Antenna Amplifier-Rear Window Defogger Coil Replacement

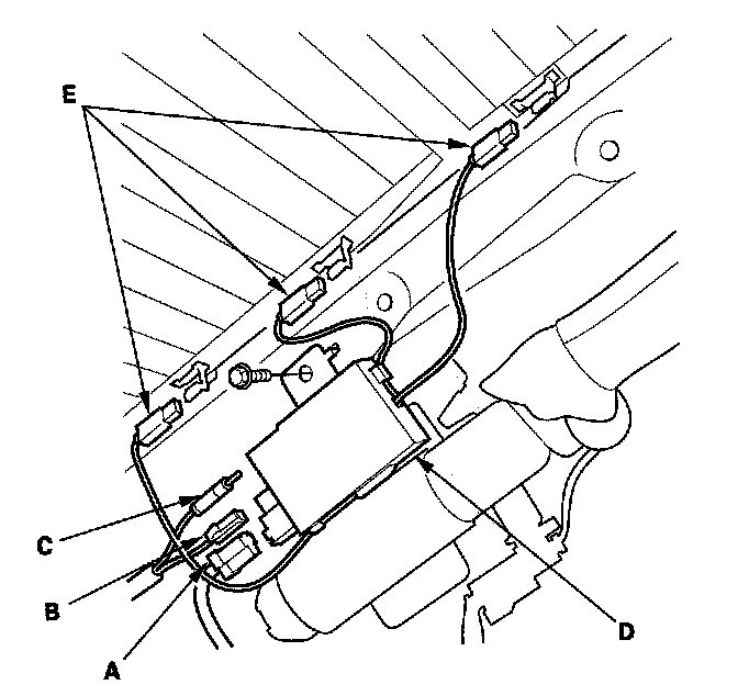
1. Remove the left C-pillar trim.




2. Disconnect the 1P connector (A), 1P connector (B), and AM/FM antenna lead (C) from the AM/FM antenna amplifier-rear window defogger coil (D) and the three window connectors (E).
3. Disconnect all connectors, then remove the bolt and AM/FM antenna amplifier-rear window defogger coil.
4. Install the AM/FM antenna amplifier-rear window defogger coil in the reverse order of removal.