Operation CHARM: Car repair manuals for everyone.
Manuals through 2025 now available!

Our trusted friends have launched a new website named LEMON, which has newer manuals. It also contains all the CHARM manuals.

LEMON is the spiritual successor to CHARM, I recommend you try it!

Link: lemon-manuals.la or lemon-manuals.org.ua

(Some people have issue connecting. LEMON is investigating. For now, use Firefox or change your DNS server)

Or, hide this message: temporarily or permanently

Navigation Display Visor Removal/Installation




Navigation Display Visor Removal/Installation

SRS components are located in this area. Review the SRS component locations Locations and the precautions and procedures Service and Repair before doing repairs or service.

NOTE:

- Do this procedure in a clean place free from dirt.
- Wear latex or vinyl gloves when doing this procedure (Do not use fabric gloves).
- When removing the navigation display visor, do not touch the scale plate.
- If there is dirt on the scale plate, clean it using compressed air.
- When installing the navigation display visor onto the LCD assembly, be careful not to touch the scale plate.
- Check that the navigation display visor and the LCD assembly are properly installed.
- Since the LCD assembly and the navigation display visor are installed at an angle, be sure that the screws are properly seated. If not properly seated, tighten the screws.
- Check that the navigation display unit assembly has no damage.

1. Remove the navigation display unit Navigation Display Unit Removal/Installation.

2. Remove the passenger's airbag cutoff indicator Service and Repair.

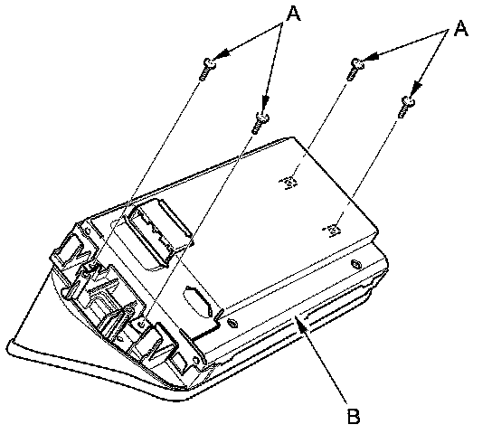
3. Remove the screws (A) from the LCD assembly (B).






4. Remove the display visor (A) from the LCD assembly (B).





5. Install the navigation display visor in the reverse order of removal.