Power and Ground Distribution: Testing and Inspection
Power Relay Test
Special Tools Required
- Relay Puller 07AAC-000A2A1 or 07AAC-000A1A0
Use this chart to identify the type of relay, then do the test listed for it.
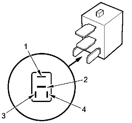
Normally-Open Four-Terminal Type
Check for continuity between the terminals:
- There should be continuity between terminals No. 1 and No. 2 when battery power is connected to terminal No. 4, and body ground is connected to the terminal No. 3.
- There should be no continuity between terminals No. 1 and No. 2 when power is disconnected.
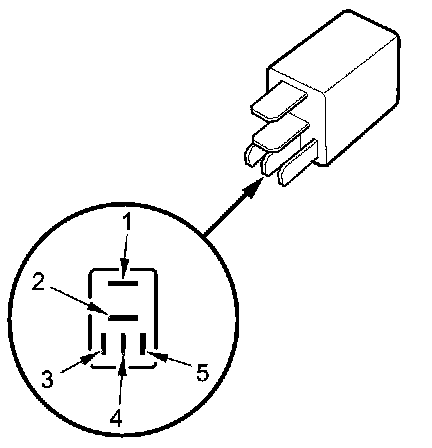
Five-Terminal Type
Check for continuity between the terminals:
- There should be continuity between terminals No. 1 and No. 2 when battery power is connected to terminal No. 5, and body ground is connected to terminal No. 3.
- There should be continuity between terminals No. 1 and No. 4 when power is disconnected.