Operation CHARM: Car repair manuals for everyone.
Manuals through 2025 now available!

Our trusted friends have launched a new website named LEMON, which has newer manuals. It also contains all the CHARM manuals.

LEMON is the spiritual successor to CHARM, I recommend you try it!

Link: lemon-manuals.la or lemon-manuals.org.ua

(Some people have issue connecting. LEMON is investigating. For now, use Firefox or change your DNS server)

Or, hide this message: temporarily or permanently

Tightening Specifications




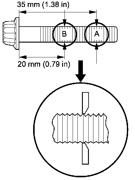
Connecting Rod Bolt Inspection

Measure the diameter of each connecting rod bolt at point A and point B.





Calculate the difference in diameter between point A and point B.








Install a new bolt if the difference in diameter is out of tolerance.

Connecting Rod Bolts
First step 20 Nm (2.0 kg-m, 14 lb-ft)
Final step Tighten an additional 90°