Operation CHARM: Car repair manuals for everyone.
Manuals through 2025 now available!

Our trusted friends have launched a new website named LEMON, which has newer manuals. It also contains all the CHARM manuals.

LEMON is the spiritual successor to CHARM, I recommend you try it!

Link: lemon-manuals.la or lemon-manuals.org.ua

(Some people have issue connecting. LEMON is investigating. For now, use Firefox or change your DNS server)

Or, hide this message: temporarily or permanently

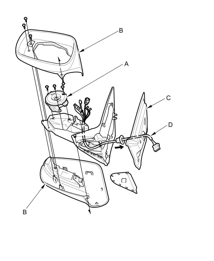
Power Mirror Motor: Service and Repair




Power Mirror Actuator Replacement

Actuator Replacement

1. Remove the mirror holder Mirror Holder Replacement.

2. Remove the three tamperproof TORX screws from the actuator (A) using a T10 TORX bit.





3. Remove the connectors (B) and the actuator.

4. Install the actuator in the reverse order of removal.

Actuator Harness Replacement

1. Remove the mirror holder Mirror Holder Replacement.

2. Remove the power mirror Power Mirror Replacement.

3. Remove the three tamperproof TORX screws from the actuator (A) using a T10 TORX bit.





4. Remove the four tamperproof TORX screws from the housing (B) using a T10 TORX bit.

5. Disconnect the connectors from the actuator, the retract actuator (if equipped), and the side turn signal light.

6. Remove the gasket (C) and the harness (D) from the power mirror.

7. Route the wire harness of the new actuator through the hole in the bracket and the gasket in the reverse order of removal.

8. Connect the connectors to the actuator and the side turn signal light securely.

9. Install the actuator, housing, and the gasket in the reverse order of removal.

10. Install the power mirror on the door, and then install the mirror holder in the power mirror.

11. Make sure the actuator, mirror defogger, and side turn signal light operate properly.