Operation CHARM: Car repair manuals for everyone.
Manuals through 2025 now available!

Our trusted friends have launched a new website named LEMON, which has newer manuals. It also contains all the CHARM manuals.

LEMON is the spiritual successor to CHARM, I recommend you try it!

Link: lemon-manuals.la or lemon-manuals.org.ua

(Some people have issue connecting. LEMON is investigating. For now, use Firefox or change your DNS server)

Or, hide this message: temporarily or permanently

Rearview Mirror Replacement




Rearview Mirror Replacement

With Navigation

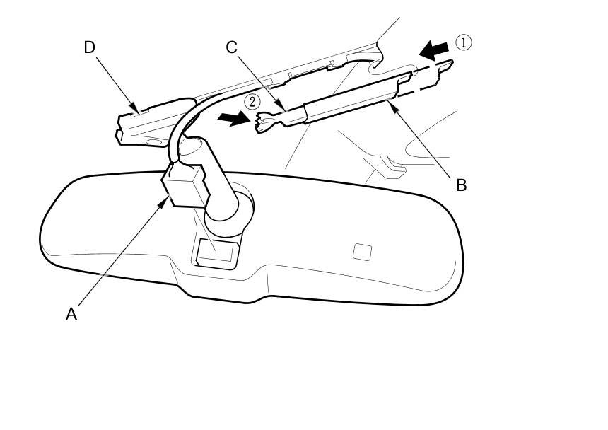
1. Disconnect the connector (A).






2. Slide the mirror harness upper cover (B) forward, then remove the mirror harness cover (C) from the mirror base (D).

3. Using a TORX T20 bit, loosen the screw, then slide the rearview mirror (A) rearward and off the mount (B).






4. Install the mirror in the reverse order of removal, and note these items:

- Before installing the mirror, remove the TORX screw, and apply medium strength liquid thread lock to it.
- Make sure the connector is plugged in properly.

Without Navigation

1. Remove the roof console Interior Lights (Roof Console) Input Test/Replacement.

2. Slide the mirror harness upper cover (A) forward, then remove the mirror harness cover (B) from the harness cover base (C).






3. Disconnect the connector (A), and detach the harness clip (B).






4. Using a TORX T20 bit, loosen the screw.

5. While holding the rearview mirror (A), pull the mirror harness connector (B) out through the headliner (C), then remove the rearview mirror from the mount (D).






6. Install the mirror in the reverse order of removal, and note these items:

- If the clip is damaged or stress-whitened, replace it with new one.
- Before installing the mirror, remove the TORX screw, and apply medium strength liquid thread lock to it.
- Make sure the connector is plugged in properly.