Operation CHARM: Car repair manuals for everyone.
Manuals through 2025 now available!

Our trusted friends have launched a new website named LEMON, which has newer manuals. It also contains all the CHARM manuals.

LEMON is the spiritual successor to CHARM, I recommend you try it!

Link: lemon-manuals.la or lemon-manuals.org.ua

(Some people have issue connecting. LEMON is investigating. For now, use Firefox or change your DNS server)

Or, hide this message: temporarily or permanently

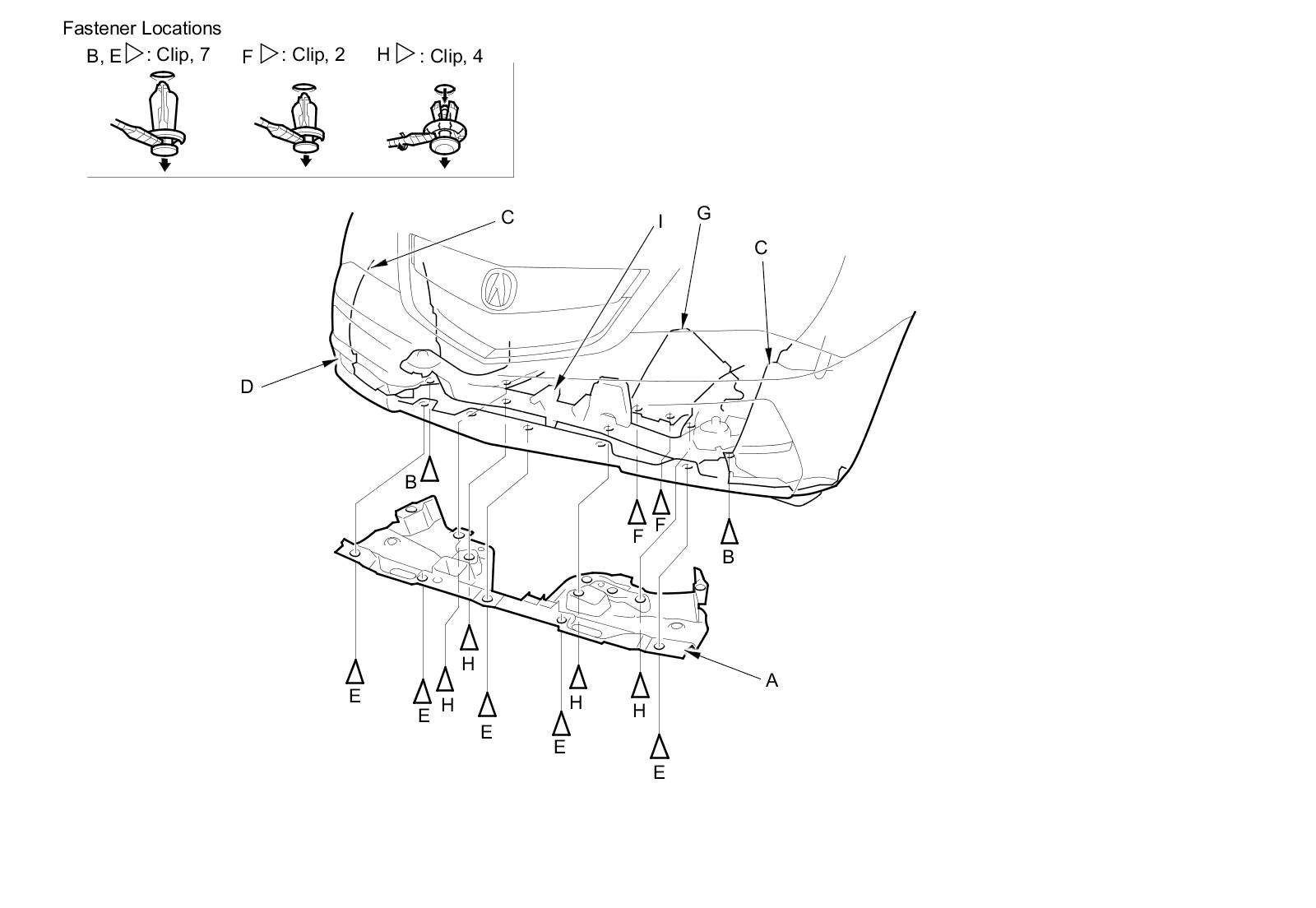
Splash Shield Replacement




Splash Shield Replacement

NOTE:

- Put on gloves to protect your hands.
- Take care not to scratch the body.
- When prying with a flat-tip screwdriver, wrap it with protective tape to prevent damage.

1. Remove the splash shield (A).

1. Remove the clips (B) that secure the front inner fender (C) and the splash shield.

2. From under the front bumper (D), remove the clips (E).

3. From under the body, remove the clips (F) that secure the front undercover (G) and the splash shield, and remove the clips (H) that secure the splash shield on the front suspension subframe (I).

4. Pull the splash shield out.





2. Install the splash shield in the reverse order of removal, and note these items:

- If the clips are damaged or stress-whitened, replace them with new ones.
- Push the clips into place securely.