Operation CHARM: Car repair manuals for everyone.
Manuals through 2025 now available!

Our trusted friends have launched a new website named LEMON, which has newer manuals. It also contains all the CHARM manuals.

LEMON is the spiritual successor to CHARM, I recommend you try it!

Link: lemon-manuals.la or lemon-manuals.org.ua

(Some people have issue connecting. LEMON is investigating. For now, use Firefox or change your DNS server)

Or, hide this message: temporarily or permanently

Engine Removal




Engine Removal

Special Tools Required

- Engine Hanger Adapter Set VSB02C000031
- Engine Hanger Balance Bar VSB02C000019
- Engine Support Hanger, A and Reds AAR-T1256
- Front Subframe Adapter EQS02BMDXSB0
*: Available through the Acura Tool and Equipment program, 888-424-6857.

NOTE:

- Use fender covers to avoid damaging painted surfaces.
- To avoid damaging the wires and terminals, unplug the wiring connectors carefully while holding the connector portion.
- Mark all wiring and hoses to avoid misconnection. Also, be sure that they do not contact other wiring, hoses, or interfere with other parts.

1. Disconnect the support struts from both sides of the pivot ball (bolted to the hood). Secure the hood in a vertical position. Install the left side pivot ball into the lower threaded hole.

NOTE: Do not attempt to close the hood with the support strut in the vertical position, as it will damage the support strut and hood.





2. Relieve the fuel pressure Service and Repair.

3. Drain the power steering system fluid, then plug the fluid reservoir and the return hose Testing and Inspection.

4. Remove the bulkhead cover Front Bulkhead Cover Replacement.

5. Do the battery removal procedure Removal and Replacement.

6. Remove the engine cover.






7. Disconnect the breather pipe (A), then remove the intake air duct (B).





8. Remove the air cleaner Service and Repair.

9. Disconnect the positive alternator cable (A) from the main under-hood fuse box.






10. Remove the main under-hood fuse box (A), then remove the harness clamp (B).






11. Remove the harness clamps (A), then remove the battery base (B).





12. Remove the shift cable Service and Repair.

13. Remove the quick-connect fitting cover (A), then disconnect the fuel feed hose (B) Fuel Line/Quick-Connect Fitting Removal.






14. Disconnect the brake booster vacuum hose (A), and EVAP canister hose (B).





15. Disconnect the EVAP canister purge valve connector (C).

16. Remove the steering joint cover, then disconnect the steering joint from the steering gearbox pinion shaft.

NOTE: Hold the steering wheel in the steering wheel holder tool.

17. Remove the coolant reservoir from the bracket.

18. Remove the PCM cover.

19. Disconnect the PCM connectors.

20. Remove the drive belt Service and Repair.

21. Disconnect the power steering pump inlet hose (A) and power steering pump outlet hose (B) from the power steering pump, then plug the power steering hoses and power steering pump.





22. Remove the power steering hose bracket (C) from the rear cylinder head cover.

23. Wait until the engine is cool, then carefully remove the radiator cap.

24. Raise the vehicle on the lift.

25. Remove the front wheels.

26. Remove the splash shield Splash Shield Replacement and the front undercover Front Undercover Replacement.

27. Loosen the drain plug in the radiator, and drain the engine coolant Service and Repair.

28. Drain the engine oil Service and Repair.

29. Drain the ATF ATF Replacement.

30. Remove the front subframe stiffener.






31. Remove exhaust pipe A.





32. Separate the stabilizer links from the dampers Front Stabilizer Link Removal/Installation.

33. Separate the tie-rod end ball joints from the knuckles.

34. Separate the knuckles from the lower arms.

35. Remove the driveshafts Testing and Inspection. Coat all precision-finished surfaces with new engine oil. Tie plastic bags over the driveshaft ends.

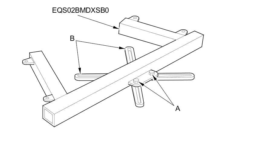
36. Remove the propeller shaft Propeller Shaft Removal.

37. Remove the transfer assembly Transfer Assembly Removal.

38. Disconnect the power steering hose (A), then plug the line and hose.






39. Disconnect the power steering pressure switch connector (A).





40. Lower the vehicle on the lift.

41. Disconnect the A/C compressor clutch connector (A), then remove the A/C compressor (B) without disconnecting the A/C hoses. Do not bend the A/C hoses excessively.

NOTE: Hang the A/C compressor with a wire tie.






42. Disconnect the heater hoses (A).






43. Disconnect the upper radiator hose (A) and the lower radiator hose (B).






44. Disconnect the ATF cooler hoses (A) from the transmission, then plug the ATF cooler hoses and lines.





45. Remove the radiator Service and Repair.

46. Remove the connector bracket (A) from the front cylinder head; use the bracket bolt hole to attach the engine balance bar front arm.






47. Remove the engine mount control solenoid valve bracket (A) from the rear cylinder head; use the bracket bolt hole to attach the engine hanger balance bar rear arm.






48. Remove the service caps (A) for the front damper flange nuts from the cowl cover (B). Position the engine hanger adapter set (VSB02C000031) with the FRONT mark facing forward over the damper flange nuts.






49. Install the engine hanger balance bar (VSB02C000019). Attach the front arm (A) to the front cylinder head with a several spacer (B) and a 10 x 1.25 mm bolt (C), attach the rear arm (D) to the rear cylinder head with an 8 x 1.25 mm bolt (E).





50. Install the engine support hanger (AAR-T1256) onto the vehicle as shown, and attach the hook to the slotted hole in the engine hanger balance bar. Tighten the wing nut (F) by hand, and lift and support the engine/transmission.

NOTE:

- Be careful when working around the windshield.
- Be careful not to damage the hood opener cable when installing the engine support hanger at the front bulkhead.
- AAR-T1256 two sets required for stacking two cross section bars.

51. Raise the vehicle on the lift.

52. Disconnect the front engine mount control solenoid valve tube (A), then remove the front engine mount bolts (B).






53. With active damper system/With headlight leveling system left side: Disconnect the front suspension stroke sensor connectors (A) and remove the harness clamps (B) on both sides.






54. Remove the lower transmission mount mounting bolts (A) and the ground cable (B).






55. Remove the rear engine mount base mounting bolts (A).






56. Loosen the four bolts (A) holding the adjustable arms (B) of the front subframe adapter (EQS02BMDXSBO) to its center plate.






57. Line up the slots on the subframe adapter arms with the bolt holes on the jack base, then securely attach them with four bolts (A).





58. Raise the transmission jack to vehicle height, then attach the front subframe adapter to the front subframe using the subframe stiffener mounting bolts (B) and bolt holes.

59. Remove the six 12 x 1.25 mm bolts (A) securing the subframe stiffeners (B), the four subframe mounting bolts (C), and the stiffeners, then lower the front subframe (D).





60. Lower the vehicle on the lift.

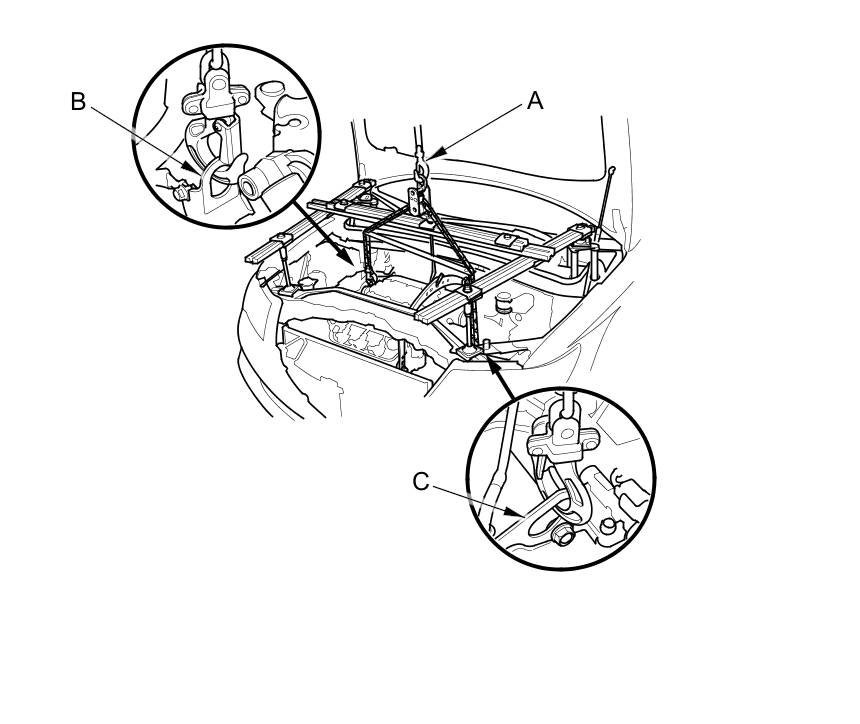
61. Attach a chain hoist (A) to the engine hanger (B) and the transmission hanger (C), then lift the engine/transmission until it is securely supported by the chain hoist, and remove the engine support hanger, the engine hanger balance bar, and the hanger adapter set.






62. Remove the mounting bolts (A) from the upper half of the side engine mount bracket.





63. Check that the engine/transmission is completely free of the vacuum hoses, the fuel hoses, the coolant hoses, and the electrical wiring.

64. Slowly lower the engine/transmission about 150 mm (6 in). Check once again that all the hoses and the electrical wiring are disconnected and free from the engine/transmission, then lower it all the way and support it.

65. Disconnect the chain hoist from the engine/transmission.

66. Raise the vehicle, and remove the engine/transmission from under the vehicle.