Operation CHARM: Car repair manuals for everyone.
Manuals through 2025 now available!

Our trusted friends have launched a new website named LEMON, which has newer manuals. It also contains all the CHARM manuals.

LEMON is the spiritual successor to CHARM, I recommend you try it!

Link: lemon-manuals.la or lemon-manuals.org.ua

(Some people have issue connecting. LEMON is investigating. For now, use Firefox or change your DNS server)

Or, hide this message: temporarily or permanently

Exterior Lights (MICU and Relay Control Module) Input Test




Exterior Lights (MICU and Relay Control Module) Input Test

NOTE:

- Before testing, troubleshoot the multiplex integrated control unit first, using B-CAN System Diagnosis Test Mode A Troubleshooting - B-CAN System Diagnosis Test Mode A.
- Before testing, make sure the No. 7 (10 A), No. 21 (7.5 A) and No. 30 (10 A) fuses in the under-dash fuse/relay box, and the No. 1 (10 A), No. 2 (10 A), No. 3 (10 A), No. 4 (10 A), No. 5 (7.5 A), No. 6 (30 A), No. 13 (20 A), No. 18 (15 A) and No. 19 (15 A) fuses in the under-hood fuse/relay box are OK.

MICU

1. Turn the ignition switch to LOCK (0).

2. Remove the left kick panel Service and Repair.

3. Disconnect under-dash fuse/relay box connectors A, B, D, E, F, H, N, P, Q and X.

NOTE: All connector views are wire side of female terminals.






4. With the connectors still disconnected, do the following input tests:

- If any test indicates a problem, find and correct the cause, then recheck the system.
- If all the input tests prove OK, go to step 5.









5. Reconnect the connectors to the under-dash fuse/relay box, and do the following input tests:

- If any test indicates a problem, find and correct the cause, then recheck the system.
- If all the input tests prove OK, go to step 6.










Relay Control Module

6. Turn the ignition switch to LOCK (0).

7. Remove the under-hood fuse/relay box Under-Hood Fuse/Relay Box Removal and Installation.

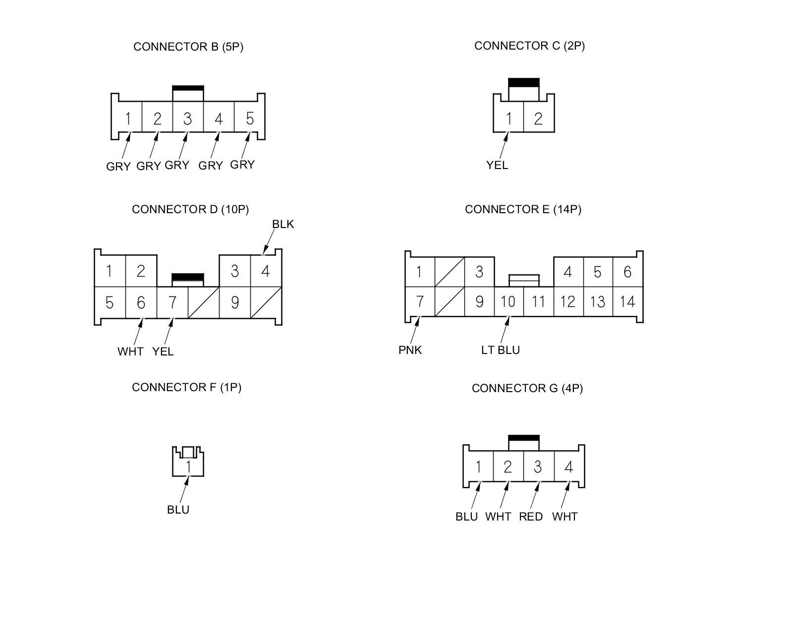
8. Disconnect under-hood fuse/relay box (relay control module part) connector B, C, D, E, F and G.

NOTE: All connector views are wire side off female terminals.






9. With the connectors still disconnected, do the following input tests:

- If any test indicates a problem, find and correct the cause, then recheck the system.
- If all the input tests prove OK, go to step 10.













10. Reconnect the connectors to the under-hood fuse/relay box (relay control module part), and do the following input tests:

- If any test indicates a problem, find and correct the cause, then recheck the system.
- If all the input tests prove OK, go to step 11.





11. If multiple failures are found on more than one control unit, replace the under-dash fuse/relay box (includes the MICU) Under-Dash Fuse/Relay Box Removal and Installation. If input failures are related to a particular control unit, replace the control unit.