Operation CHARM: Car repair manuals for everyone.
Manuals through 2025 now available!

Our trusted friends have launched a new website named LEMON, which has newer manuals. It also contains all the CHARM manuals.

LEMON is the spiritual successor to CHARM, I recommend you try it!

Link: lemon-manuals.la or lemon-manuals.org.ua

(Some people have issue connecting. LEMON is investigating. For now, use Firefox or change your DNS server)

Or, hide this message: temporarily or permanently

MICU Input Test




MICU Input Test

NOTE: Before testing, troubleshoot the multiplex integrated control unit first, using B-CAN System Diagnosis Test Mode A Troubleshooting - B-CAN System Diagnosis Test Mode A.

1. Turn the ignition switch to LOCK (0).

2. Remove the left kick panel Service and Repair.

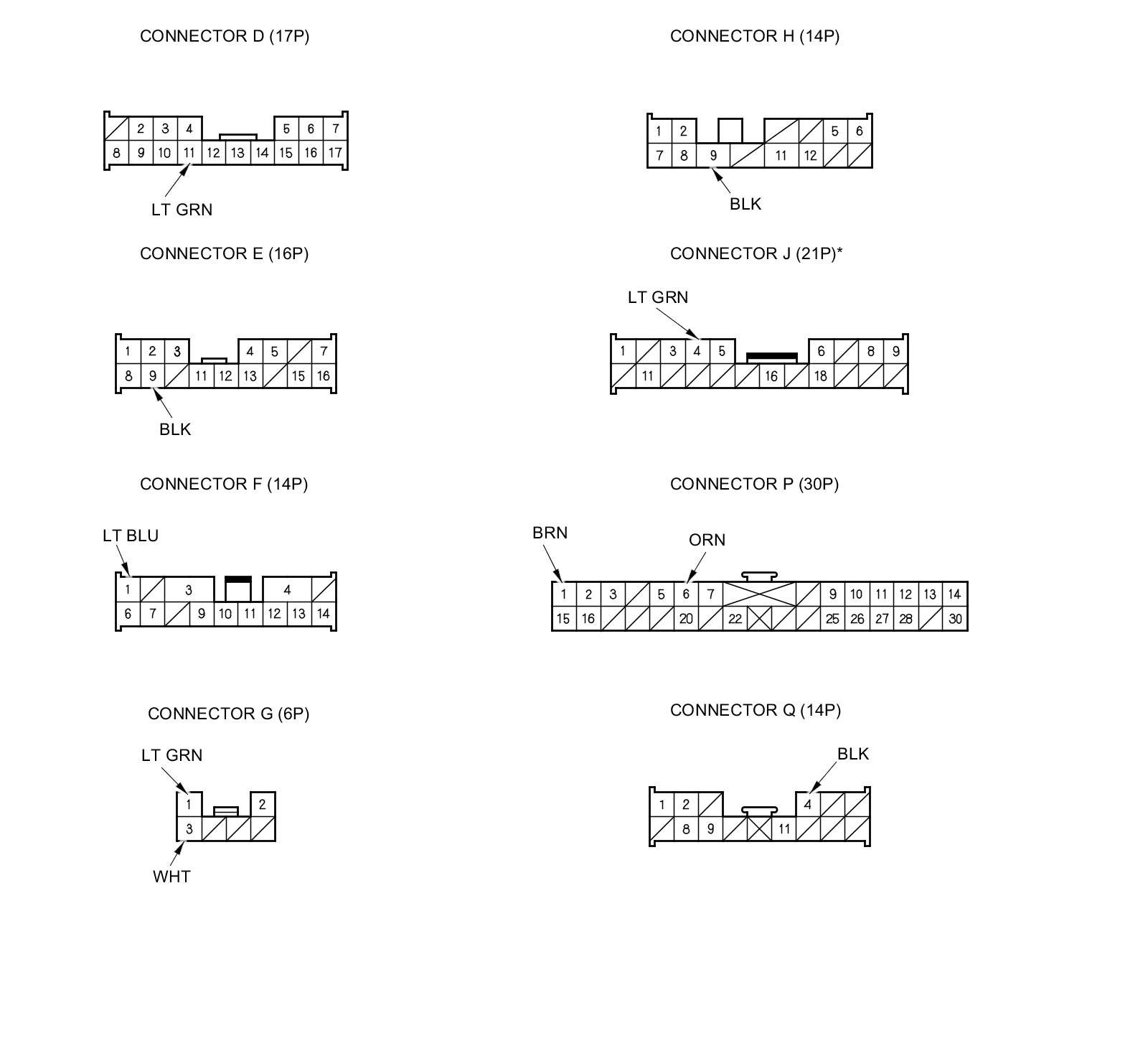
3. Disconnect under-dash fuse/relay box connectors D, E, F, G, H, J, N, P, Q, and X.

NOTE: All connector views are wire side of female terminals.










4. Inspect the connector and socket terminals to be sure they are all making good contact.

- If the terminals are bent, loose, or corroded, repair them as necessary, and recheck the system.
- If the terminals look OK, go to step 5.

5. With the connectors still disconnected, do the following input tests:

- If any test indicates a problem, find and correct the cause, then recheck the system.
- If all the input tests prove OK, go to step 6.









6. Reconnect the connectors, and do the following input tests:

- If any test indicates a problem, find and correct the cause, then recheck the system.
- If all the input tests prove OK, the MICU must be faulty; replace the under-dash fuse/relay box Under-Dash Fuse/Relay Box Removal and Installation.