Operation CHARM: Car repair manuals for everyone.
Manuals through 2025 now available!

Our trusted friends have launched a new website named LEMON, which has newer manuals. It also contains all the CHARM manuals.

LEMON is the spiritual successor to CHARM, I recommend you try it!

Link: lemon-manuals.la or lemon-manuals.org.ua

(Some people have issue connecting. LEMON is investigating. For now, use Firefox or change your DNS server)

Or, hide this message: temporarily or permanently

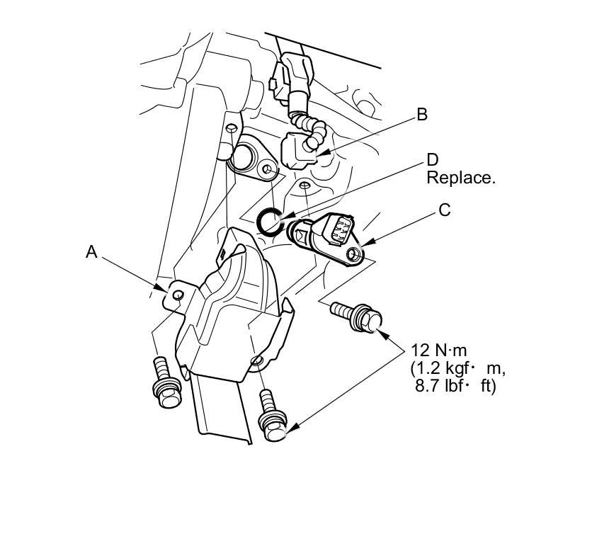
CKP Sensor Replacement




CKP Sensor Replacement

1. Raise the vehicle on a lift.

NOTE: Make sure the vehicle is level, because engine oil will drip out when you remove the sensor.

2. Remove the CKP sensor cover (A).





3. Disconnect the CKP sensor 3P connector (B).

4. Remove the CKP sensor (C).

5. Install the parts in the reverse order of removal with a new O-ring (D).

6. Do the CKP pattern clear/CKP pattern learn procedure.

7. Check the engine oil level, and add more oil if needed.