Operation CHARM: Car repair manuals for everyone.
Manuals through 2025 now available!

Our trusted friends have launched a new website named LEMON, which has newer manuals. It also contains all the CHARM manuals.

LEMON is the spiritual successor to CHARM, I recommend you try it!

Link: lemon-manuals.la or lemon-manuals.org.ua

(Some people have issue connecting. LEMON is investigating. For now, use Firefox or change your DNS server)

Or, hide this message: temporarily or permanently

Battery: Description and Operation




Battery Management System Description

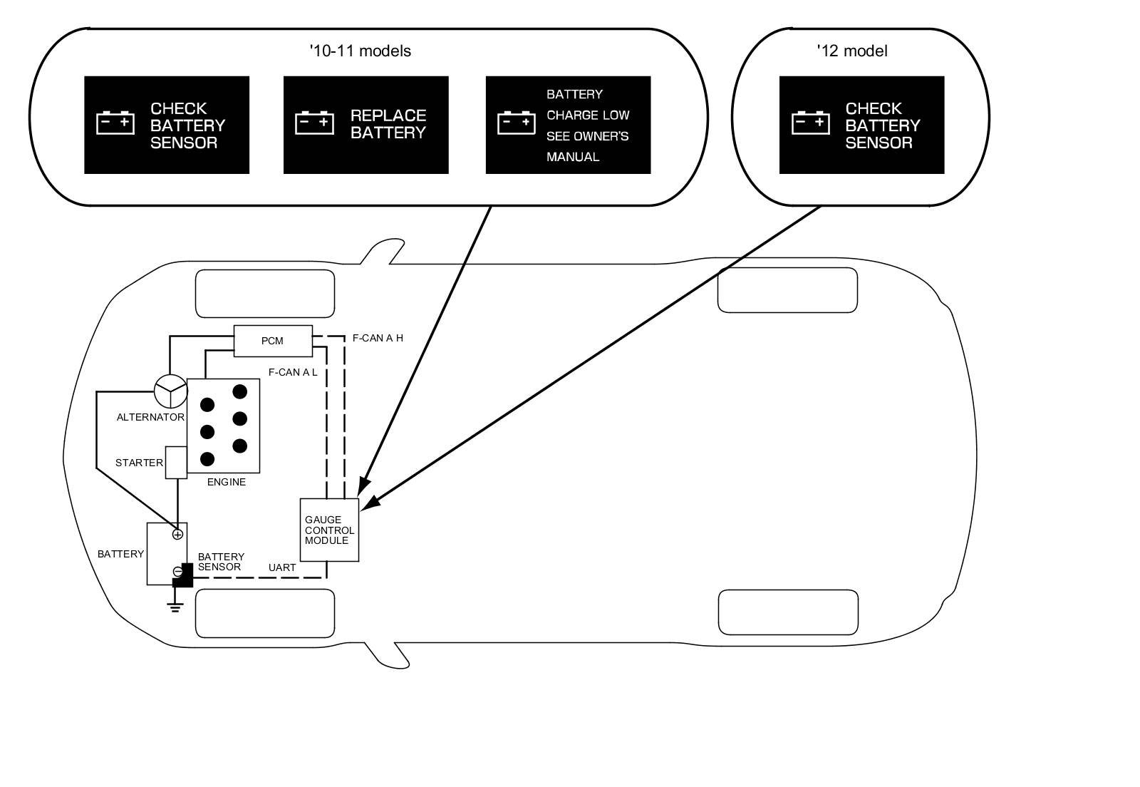
This system consists of the battery sensor, the gauge control module, the MICU, the rear MICU, the driver's MPCS unit, the front passenger's MPCS unit, the alternator, and the PCM.

The battery sensor measures current, voltage, and temperature values of the battery in all ignition switch positions. This data is used to control the alternator output, the idle speed, and the interior lights. These are the advantages of this system:

- Helps to prevent over-discharge of the battery
- Helps to protect engine cranking amps
- Helps to extend battery life
- Helps to improve fuel economy
- Helps to alert the client of battery condition

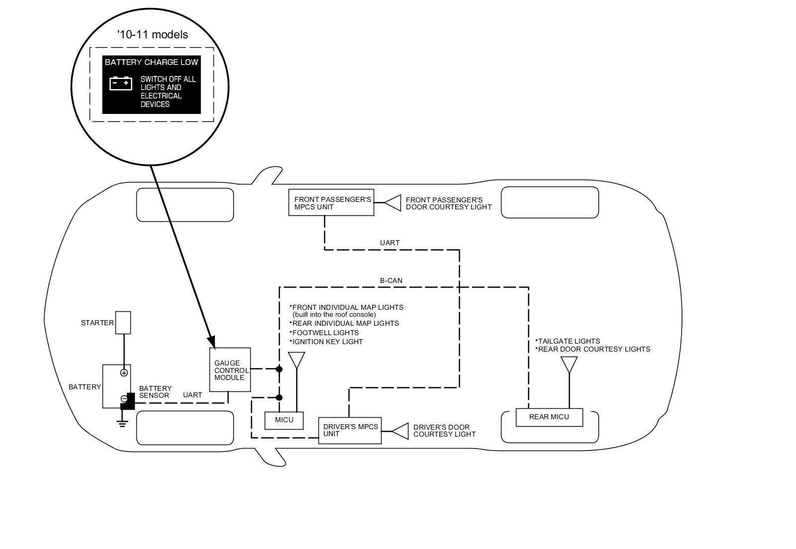
Battery Management While The Ignition Switch Is In LOCK (0) With Electrical Devices ON

When the battery sensor detects the battery voltage decreasing, that information is sent to the gauge control module via the UART line. The gauge control module then operates a beeper, and displays the message "SWITCH OFF ALL LIGHTS AND ELECTRICAL DEVICES" on the multi-information display (MID) to inform the client that electrical devices should be turned off. If electrical devices are not turned off and the battery voltage decreases more, the gauge control module sends an interior lights off signal to the MICU, the rear MICU, and/or the driver's MPCS unit via the B-CAN line (the front passenger's MPCS unit receives that signal from the driver's MPCS unit via the UART line). Based on that signal, the units cut off the ground circuits of the interior lights and turns them off.





NOTE: The message on the multi-information display (MID) is not applied to '12 model.

Battery Management While The Engine Is Idling

While the engine is idling, the battery sensor measures current, voltage, and temperature values of the battery, and this data is sent to the gauge control module via the UART line. The gauge control module sends the idle speed control signal and alternator control signal to the PCM via the F-CAN A line. Then, based on those signals and the signal from the ELD, the PCM determines the idle speed that is appropriate for the current state of charge of the battery, and also controls the alternator output. Because of these functions, battery condition is maintained, and fuel economy is improved.
If the battery sensor detects any problems, a warning message is shown on the multi-information display (MID) to inform the client that the system needs attention.





NOTE:

- Even though the engine is not idling, the warning messages will be shown as long as the ignition switch is ON (II).
- If there are any problems with the charging system or the battery, the charging system indicator comes on at the same time.
- The most common causes for "BATTERY CHARGE LOW" message are:
1: Short-trip driving
2: Using vehicle electrical devices or aftermarket electrical accessories for long periods with the engine OFF and the ignition ON.
- If the "BATTERY CHARGE LOW" message is displayed after fully charging the battery, disconnect the gray 2-pin connector next to the Battery Sensor for 10 seconds, then reconnect the connector and the warning will be removed from the display.
- If battery replacement is required, always replace with a new battery of the same group size.