Operation CHARM: Car repair manuals for everyone.
Manuals through 2025 now available!

Our trusted friends have launched a new website named LEMON, which has newer manuals. It also contains all the CHARM manuals.

LEMON is the spiritual successor to CHARM, I recommend you try it!

Link: lemon-manuals.la or lemon-manuals.org.ua

(Some people have issue connecting. LEMON is investigating. For now, use Firefox or change your DNS server)

Or, hide this message: temporarily or permanently

Back Window Glass: Service and Repair




Rear Window Replacement

NOTE:

- Put on gloves to protect your hands.
- Wear eye protection when removing the glass with piano wire.
- Use seat covers to avoid damaging any surfaces.
- Do not damage the rear window defogger grid lines and terminals.

1. Remove these items:

- Tailgate spoiler trim Service and Repair
- Tailgate lower trim panel
- Rear window wiper motor Rear Window Wiper Motor Replacement

2. Disconnect the rear window defogger connectors (A).





3. If the old rear window will be reinstalled, make alignment marks across the glass and body with a grease pencil.

4. Apply protective tape along the inside and outside edges of the tailgate. Using an awl, make a hole through the adhesive from inside the vehicle at the corner area of the rear window. Push the piano wire through the hole, and wrap each end around a piece of wood.

5. With a helper on the outside, pull the piano wire (A) back and forth in a sawing motion. Hold the piano wire as close to the rear window (B) as possible to prevent damage to the tailgate, and carefully cut through the adhesive (C) around the entire rear window.






Cutting positions





6. Carefully remove the rear window.

7. Scrape smooth the old adhesive with a knife until there is a thickness of about 2 mm (0.08 in) on the bonding surface around the entire rear window opening flange:

- Do not scrape down to the painted surface of the body; damaged paint will interfere with proper bonding.
- Remove the fasteners from the tailgate.

8. Clean the tailgate bonding surface with a shop towel dampened in isopropyl alcohol. After cleaning, keep oil, grease and water from getting on the surface.

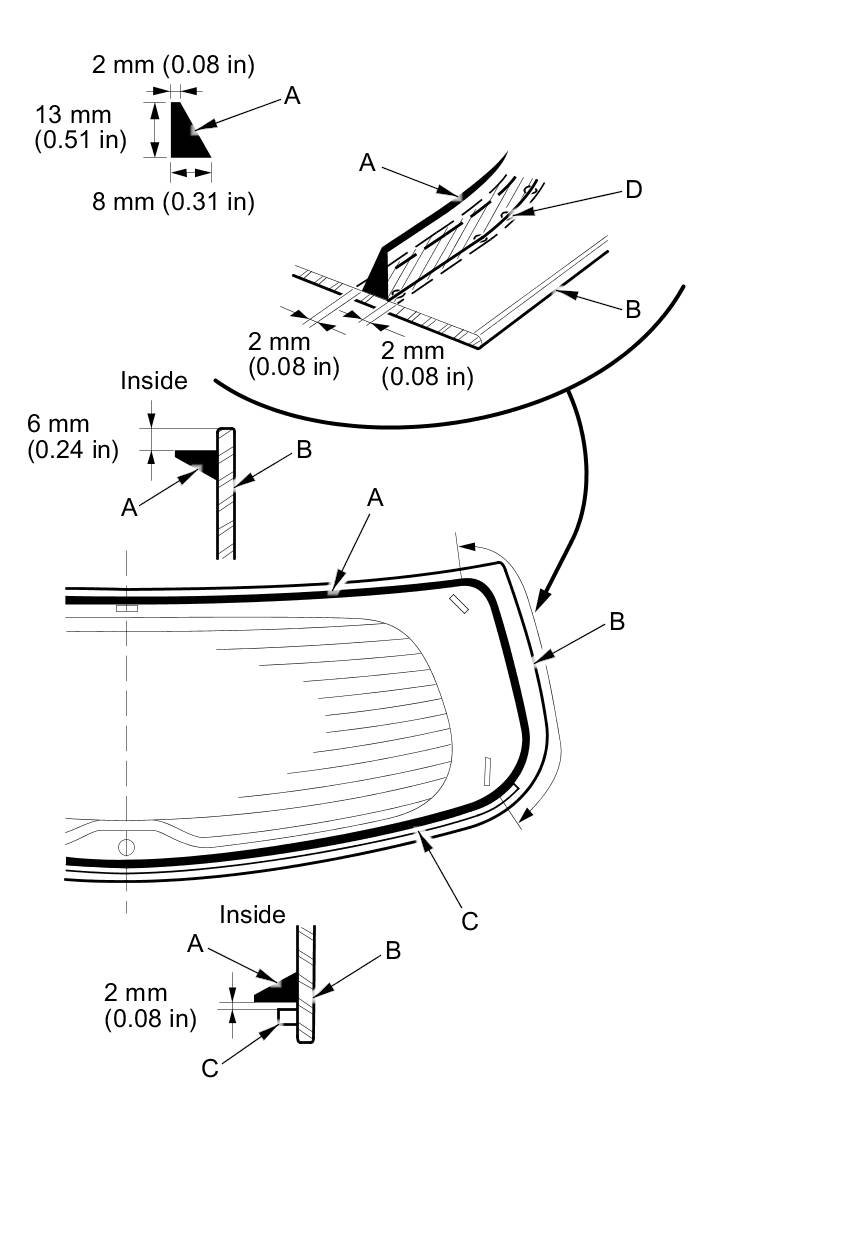
9. If a new rear window is to be installed, install the rear wiper seal (A) to the rear window (B) with its alignment mark (C) being aligned with the mark (D) on the rear window.





10. If the old rear window is to be reinstalled, check for a damaged rear wiper seal, and replace it with a new one.

11. If you are reinstalling the old rear window, scrape off all of the old adhesive, the fasteners and the rubber dams from the rear window with a putty knife. Clean the bonding surface on the inside face and the edge of the rear window with isopropyl alcohol. Make sure the bonding surface is kept free of water, oil and grease.

12. Apply glass primer to the edge of the rear window (A) where the rubber dam (A), the fasteners (B, C) and spacer (D) will be attached as shown. Attach the rubber dam, the fasteners, and the spacer with adhesive tape to the inside face of the rear window as shown:

- Make sure the fasteners and rubber dam line up with alignment marks (F).
- Be careful not to touch the rear window where adhesive will be applied.





13. Attach the fasteners (A, B) with adhesive tape to the tailgate as shown.






14. Set the rear window (A) in the opening, and center it. Make alignment marks (B) across the rear window and the body with a grease pencil at the four points shown. Be careful not to touch the rear window where the adhesive will be applied.






15. Remove the rear window.

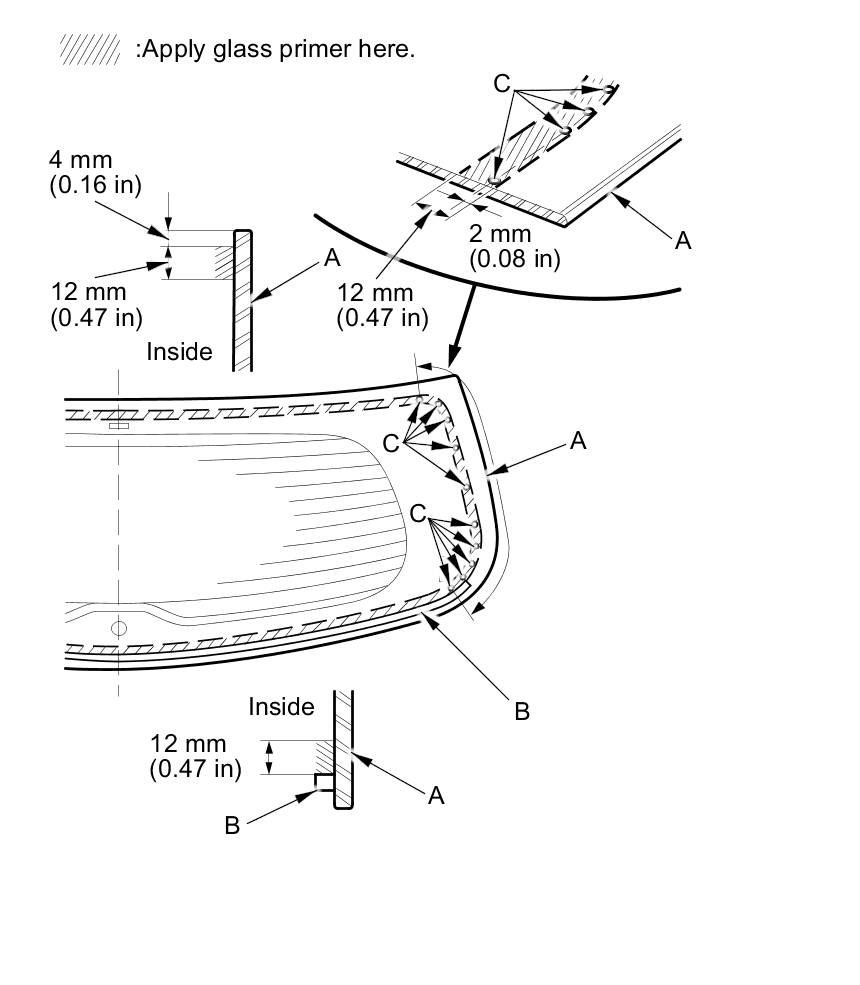
16. Apply a light coat of glass primer to the rear window (A) along the edge of the rubber dam (B) as shown, then lightly wipe it off with gauze or cheesecloth:

- With the printed dots (C) on the rear window as a guide, apply the glass primer to both side areas of the rear window.
- Do not apply body primer to the rear window, and do not get body and glass primer sponges mixed up.
- Never touch the primed surfaces with your hands. If you do, the adhesive may not bond to the rear window properly, causing a leak after the rear window is installed.
- Keep water, dust, and abrasive materials away from the primed surface.





17. Carefully apply a light coat of body primer to any exposed paint around the flange where new adhesive will be applied. Let the body primer dry for at least 10 minutes:

- Do not apply body primer to any remaining original adhesive on the flange.
- Be careful not to mix up glass and body primer sponges.
- Never touch the primed surfaces with your hands.





18. Cut a "V" in the end of the nozzle (A) on the adhesive cartridge as shown.






19. Put the cartridge in a caulking gun, and run a continuous bead of adhesive (A) to the rear window (B) along the edge of the lower rubber dam (C) as shown:

Use the printed dots (D) as a guide when you apply the adhesive to the corners of the rear window: Apply the adhesive within 30 minutes after applying the glass primer. Make a slightly thicker bead at each corner.





20. Hold the rear window over the opening with suction cups, align it with the alignment marks you made in step 14, and set it down on the adhesive. Lightly push on the rear window until its edges are fully seated on the adhesive all the way around.

NOTE: Do not open or close the doors for about an hour until the adhesive is dry.

21. Remove the excess adhesive with a putty knife or a shop towel dampened with isopropyl alcohol.

22. Wait at least an hour for the adhesive to dry, then spray water over the rear window and check for leaks. Mark the leaking areas, let the rear window dry, then seal with sealant. Let the vehicle stand for at least 4 hours after rear window installation. If the vehicle has to be used within the first 4 hours, it must be driven slowly.

23. Reinstall all remaining removed parts.

NOTE: Advise the client not to do the following things for 2 to 3 days:

- Slam the doors with all the windows rolled up.
- Twist the body excessively (such as when going in and out of driveways at an angle or driving over rough, uneven roads).