Operation CHARM: Car repair manuals for everyone.
Manuals through 2025 now available!

Our trusted friends have launched a new website named LEMON, which has newer manuals. It also contains all the CHARM manuals.

LEMON is the spiritual successor to CHARM, I recommend you try it!

Link: lemon-manuals.la or lemon-manuals.org.ua

(Some people have issue connecting. LEMON is investigating. For now, use Firefox or change your DNS server)

Or, hide this message: temporarily or permanently

Wiper Blade: Service and Repair




Wiper Blade Replacement

Windshield

1. Lift the wiper arms from the windshield.

NOTE: Lift the driver's side first.

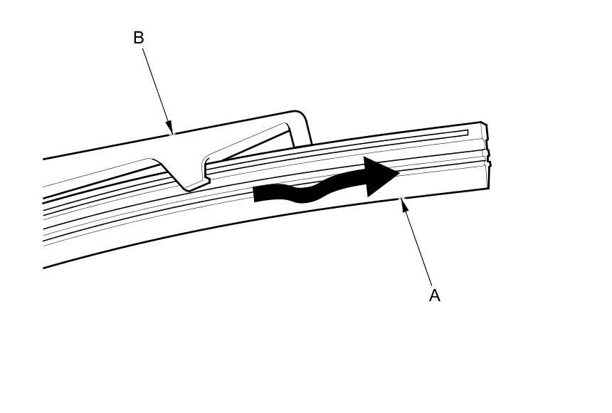
2. Press and hold the tab (A) and slide the wiper assembly (B) toward the tab to release it from the wiper arm (C).






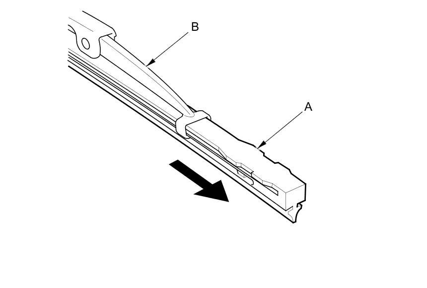
3. Slide the wiper blade (A) out from the wiper assembly (B).





4. Install a new wiper blade onto the wiper assembly in the reverse order of removal.

5. Install the wiper assembly onto the wiper arm in the reverse order of removal.

6. Check the wiper operation, if the blades slip, turn the wiper switch OFF, and reinstall the wiper blades securely.

Rear Window

1. Lift the wiper arm from the rear window.

2. Turn the rear wiper assembly (A), release the lock, and then remove the wiper assembly from the rear wiper arm (B).






3. Raise the old blade (A), and remove it from the wiper assembly (B).





4. Install the new wiper blade and the wiper assembly in the reverse order of removal.

NOTE: After installation, confirm that the wiper arm works smoothly.