Operation CHARM: Car repair manuals for everyone.
Manuals through 2025 now available!

Our trusted friends have launched a new website named LEMON, which has newer manuals. It also contains all the CHARM manuals.

LEMON is the spiritual successor to CHARM, I recommend you try it!

Link: lemon-manuals.la or lemon-manuals.org.ua

(Some people have issue connecting. LEMON is investigating. For now, use Firefox or change your DNS server)

Or, hide this message: temporarily or permanently

System Specifications

TIGHTENING TORQUE

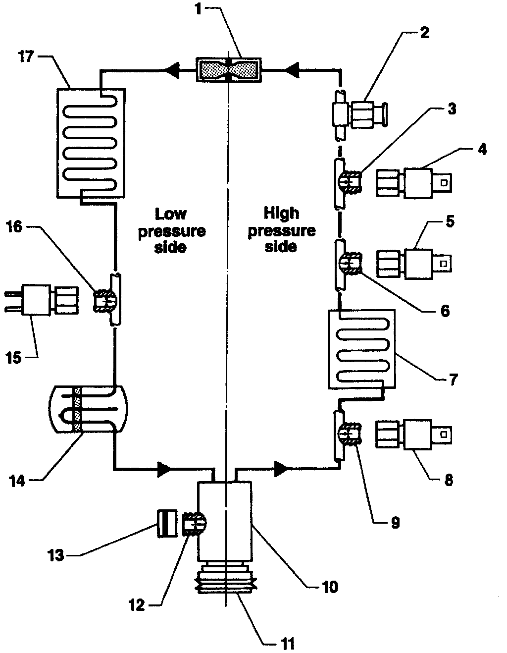
A/C Refrigerant System:





1. Restrictor
2. Safety valve 10 Nm (7.5 ft lb).
3. High pressure valve
4. A/C refrigerant high pressure switch F23
- (Yellow or green housing) 10 Nm (7.5 ft lb).
5. A/C high pressure cut-out switch
- (Red housing) 10 Nm (7.5 ft lb).
6. High pressure service valve
7. Condenser
- Inlet 26.5 Nm (19.5 ft lb).
- Outlet 16.5 Nm (12.0 ft lb).
8. Not equipped
9. Not equipped
10. A/C compressor
- Low pressure connection 42 Nm (31.0 ft lb).
- High pressure connection 26.5 Nm (19.5 ft lb).
11. A/C compressor clutch
12. Low pressure service valve
13. Cap
14. Accumulator
- Inlet 42 Nm (31.8 ft lb).
- Outlet 42 Nm (31.8 ft lb).
15. A/C refrigerant low pressure switch 5.5 Nm (4.0 ft lb).
16. Low pressure valve
17. Evaporator 5.5 Nm (4.0 ft lb).