Operation CHARM: Car repair manuals for everyone.
Manuals through 2025 now available!

Our trusted friends have launched a new website named LEMON, which has newer manuals. It also contains all the CHARM manuals.

LEMON is the spiritual successor to CHARM, I recommend you try it!

Link: lemon-manuals.la or lemon-manuals.org.ua

(Some people have issue connecting. LEMON is investigating. For now, use Firefox or change your DNS server)

Or, hide this message: temporarily or permanently

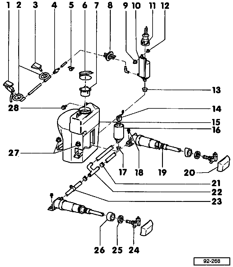
Windshield and Headlight Washers, Assembly

Windshield And Headlight Washers, Assembly:





1 - Windshield spray jet, heated
- Optional
2 - Rubber nozzles
3 - Windshield spray jet, non-heated
4 - Return valve for windshield washer unit
- Note installation position
5 - Clip
6 - Cap
7 - Filter
8 - Double nozzle
9 - Seal
10 - Pump, windshield washer
11 - Windshield washer pump, electrical connection
12 - Seal plug
13 - Seal
14 - Headlight washer pump, electrical connection
15 - Washer fluid container
16 - Pump, headlight washer
17 - Seal
18 - Retaining screw
19 - Pressure cylinder

20 - Cover
21 - Hose clamp
22 - T-piece
23 - Bracket
24 - Spray jets, headlight washers

- Not adjustable
25 - Nut
- Tightening torque: 9.5 Nm (84 in lb)
26 - Spacer
27 - Nuts
- Tightening torque: 5 Nm (44 in lb)
28 - Bolt
- Tightening torque: 5 Nm (44 in lb)

Fig. 1 Spray lets, adjusting






CAUTION!
DO NOT adjust spray jets using a needle, pin or similar object or damage to the spray jet will result.



- Dimension -a- = 230 mm (9.0 in)
- Dimension -b- = 280 mm (11 in)
- Dimension -C- = 160 mm (6.3 in)
- Dimension -d- = 480 mm (18.9 in)

Fig. 2 Spray jets, removing and installing

Removing






- Using small screwdriver, press retaining tab in direction of (arrow), and push jet out of hood.

Installing
- Push spray jet into hook from top until tab snaps into place.

Fig. 3 Headlight washer pressure cylinder, removing and installing






NOTE:
- Headlight spray jets are not adjustable
- Snap off cover -A- by hand.
- Pull out cylinder to stop.
- Clamp washer hose.
- Remove spray jet -B- by carefully pulling and turning.





- Remove hose clamp -A- and washer hose.
- Remove bolts -B-.
Tightening torque: 3.5 Nm (31 in lb)
- Remove nut -C-.
Tightening torque: 9.5 Nm (84 in lb)
- Pull off spacer -D- toward front.
- Remove pressure cylinder toward rear.

Install all components in reverse order of removal.