Operation CHARM: Car repair manuals for everyone.
Manuals through 2025 now available!

Our trusted friends have launched a new website named LEMON, which has newer manuals. It also contains all the CHARM manuals.

LEMON is the spiritual successor to CHARM, I recommend you try it!

Link: lemon-manuals.la or lemon-manuals.org.ua

(Some people have issue connecting. LEMON is investigating. For now, use Firefox or change your DNS server)

Or, hide this message: temporarily or permanently

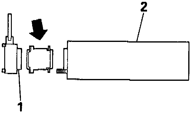
Security Code Identifying

SECURITY CODE, IDENTIFYING (DIAGNOSTIC TEST COMMAND 55 #)

Use the following procedure when phone programming is not possible due to an unknown or forgotten six-digit security code. This procedure is also used to determine a forgotten lock code or phone number.




- insert test connector US 30844 -arrow- in line between power cord (25-pin connector) -1- and transceiver -2-

- switch ignition ON

- switch phone ON by pressing "Pwr" button on handset

^ handset readout displays two alternating sets of numbers

Note:
This procedure can also be performed with the ignition switch OFF However, when the phone is switched ON, the display may show "Loc'd" To proceed, press the "#" key to enter the Test Mode directly

- press "#" key to enter Test Mode




^ handset readout displays "US" with an apostrophe (') in the upper right hand corner

- enter diagnostic command 55 # by pressing keys 5, 5, and #

^ test mode programming begins on step one




^ five-digit system identification number is displayed (for example, "00000")

Note:
Sixteen different steps, each containing telephone programming information, can be displayed during this test mode. See chart.

* key - advances to next programming step
# key - exits program mode

- press "*" key six times to display six digit security code (step 7)

Note:
Press "*" key two times to display phone number (step 3) or seven times to display three-digit unlock code (step 8).

- write down needed information


- press "#" key to enter test mode




^ handset readout displays an apostrophe (') in the upper right hand corner

- switch phone OFF and remove test connector







Test Mode Programming Chart